| Обозначение: |  ГОСТ 24366-80 |
| Статус: | действующий |
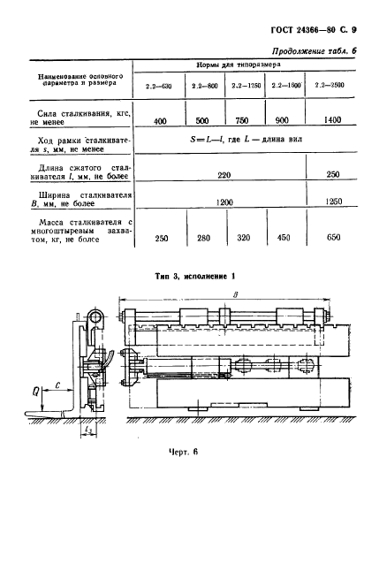
| Название рус.: | Авто- и электропогрузчики вилочные общего назначения. Грузозахватные приспособления. Общие технические условия |
| Название англ.: | General-purpose fork-lift auto- and electric loaders. Loadcatching devices. General specifications |
| Дата актуализации текста: | 06.04.2015 |
| Дата актуализации описания: | 01.07.2023 |
| Дата издания: | 01.04.1992 |
| Дата введения: | 01.01.1982 |
| Код ОКП: | 452700 |
| Нормативные ссылки: | ГОСТ 2.601-68; ГОСТ 9.014-78; ГОСТ 9.032-74; ГОСТ 9.104-79; ГОСТ 12.1.003-83; ГОСТ 12.2.040-79; ГОСТ 12.4.026-76; ГОСТ 12969-67; ГОСТ 12971-67; ГОСТ 15150-69; ГОСТ 15151-69; ГОСТ 16514-87; ГОСТ 18464-87; ГОСТ 22172-76; ГОСТ 24634-81 |
| Область применения: | Настоящий стандарт распространяется на навесные грузозахватные приспособления к авто- и электропогрузчикам общего назначения, изготовляемые для нужд народного хозяйства и на экспорт. Стандарт не распространяется на вспомогательные грузозахватные приспособления (крюки, петли, многоветьевые стропы на траверсе, бадьи и др.), специальные грузозахватные приспособления (эксцентриковые, электромагнитные, вакуумные и др.), поставляемые на производство до введения настоящего стандарта |
| Список изменений: | №1 от 01.07.1986 (рег. 20.12.1985) «Срок действия продлен» №2 от 01.01.1990 (рег. 19.03.1989) «Срок действия продлен» |
|