| Обозначение: |  ГОСТ 17752-81 |
| Статус: | не действует в РФ |
| Название рус.: | Гидропривод объемный и пневмопривод. Термины и определения |
| Название англ.: | Hydraulic and pneumatic drive. Terms and definitions |
| Дата актуализации текста: | 06.04.2015 |
| Дата актуализации описания: | 01.01.2024 |
| Дата издания: | 01.01.1988 |
| Дата введения: | 01.01.1982 |
| Дата окончания срока действия: | 15.11.2023 |
| Код ОКП: | 414000;415000 |
| Взамен: | ГОСТ 17752-72 |
| Содержит требования: | СТ СЭВ 2455-80 |
| На территории РФ пользоваться: | ГОСТ Р 71085-2023 |
| Нормативные ссылки: | ГОСТ 17398-72 |
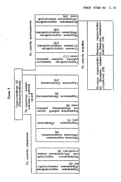
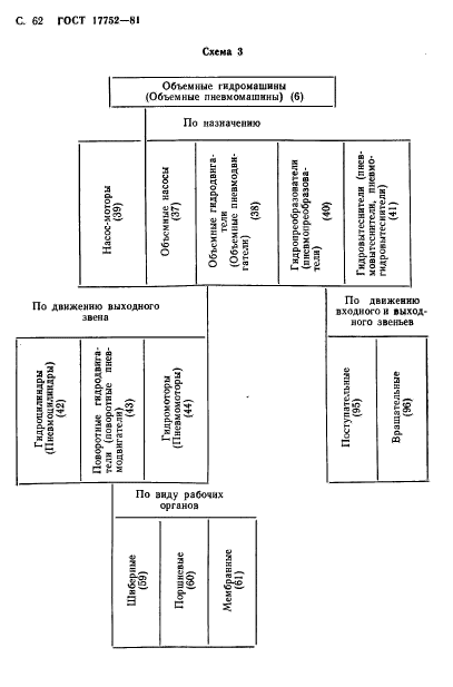
| Область применения: | Настоящий стандарт устанавливает основные термины и определения в области объемных гидроприводов и пневмоприводов. Установленные настоящим стандартом термины обязательны для применения в документации всех видов, научно-технической, учебной и справочной литературе |
| Список изменений: | №1 от 01.01.1985 (рег. 05.03.1984) «Срок действия продлен» №2 от 01.01.1987 (рег. 08.07.1986) «Срок действия продлен» |
|