| Обозначение: |  ГОСТ 24778-81 |
| Статус: | действующий |
| Название рус.: | Пластмассы. Метод определения прочности при сдвиге в плоскости листа |
| Название англ.: | Plastics. Methods for shear strength determination in plane of the sheet |
| Дата актуализации текста: | 06.04.2015 |
| Дата актуализации описания: | 01.07.2023 |
| Дата издания: | 25.08.1981 |
| Дата введения: | 01.07.1982 |
| Нормативные ссылки: | ГОСТ 6507-78; ГОСТ 12423-66; ГОСТ 14359-69 |
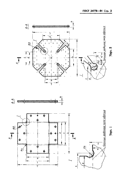
| Область применения: | Настоящий стандарт распространяется на листовые пластмассы и устанавливает два метода определения прочности при сдвиге в плоскости листа, предназначенные для сравнительной оценки пластмасс. Настоящий стандарт не распространяется на пластмассы толщиной листа менее 0,5 мм и на ячеистые пластмассы |
|