Скачать ГОСТ 25159-82 Протяжки для шлицевых отверстий с эвольвентным профилем диаметром от 15 до 90 мм, модулем от 1 до 2,5 мм с центрированием по наружному диаметру двухпроходные. Конструкция и размерыДата актуализации: 01.06.2025 ГОСТ 25159-82
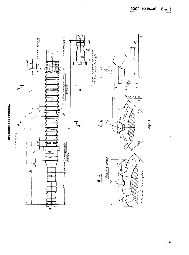
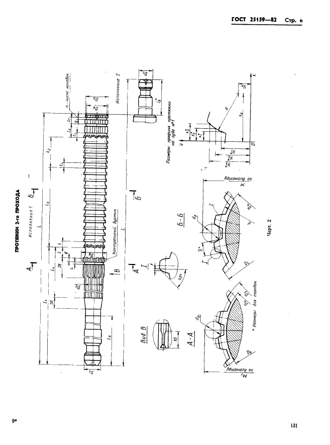
Протяжки для шлицевых отверстий с эвольвентным профилем диаметром от 15 до 90 мм, модулем от 1 до 2,5 мм с центрированием по наружному диаметру двухпроходные. Конструкция и размеры
| Обозначение: |  ГОСТ 25159-82 |
| Статус: | действующий |
| Название рус.: | Протяжки для шлицевых отверстий с эвольвентным профилем диаметром от 15 до 90 мм, модулем от 1 до 2,5 мм с центрированием по наружному диаметру двухпроходные. Конструкция и размеры | | Название англ.: | Broaches with diameter frome 15 to 90 mm for slitting holes with involute profile and centring at outside diameter with modul frome 1 to 2,5 mm, double driven. Construction and dimensions | | Дата актуализации текста: | 06.04.2015 | | Дата актуализации описания: | 01.07.2023 | | Дата издания: | 09.06.1982 | | Дата введения: | 01.01.1984 | | Код ОКП: | 392340 | | Нормативные ссылки: | ГОСТ 4044-70; ГОСТ 5950-73; ГОСТ 6033-80; ГОСТ 6767-79; ГОСТ 14034-74; ГОСТ 19265-73; ГОСТ 20365-74; ГОСТ 25158-82 | | Область применения: | Настоящий стандарт распространяется на двухпроходные протяжки универсального назначения диаметром от 15 до 90 мм, модулем от 1 до 2,5 мм, предназначенные для обработки шлицевых втулок с эвольвентным профилем с центрированием по наружному диаметру | | Список изменений: | №1 от 01.09.1986 (рег. 27.03.1986) «Срок действия продлен» №2 от 01.02.1988 (рег. 22.09.1987) «Срок действия продлен» | |
               
|