| Обозначение: |  ГОСТ 25815-83 |
| Статус: | действующий |
| Название рус.: | Винты гребные. Термины и определения |
| Название англ.: | Propellers. Terms and definitions |
| Дата актуализации текста: | 06.04.2015 |
| Дата актуализации описания: | 01.01.2021 |
| Дата издания: | 18.08.1983 |
| Дата введения: | 01.01.1984 |
| Содержит требования: | СТ СЭВ 3042-81 |
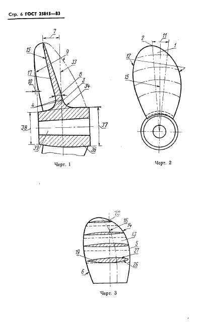
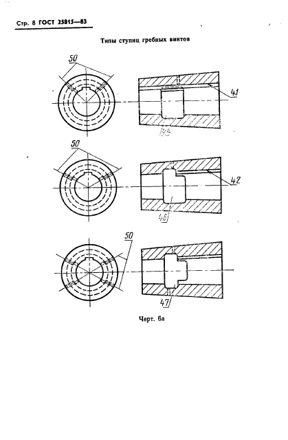
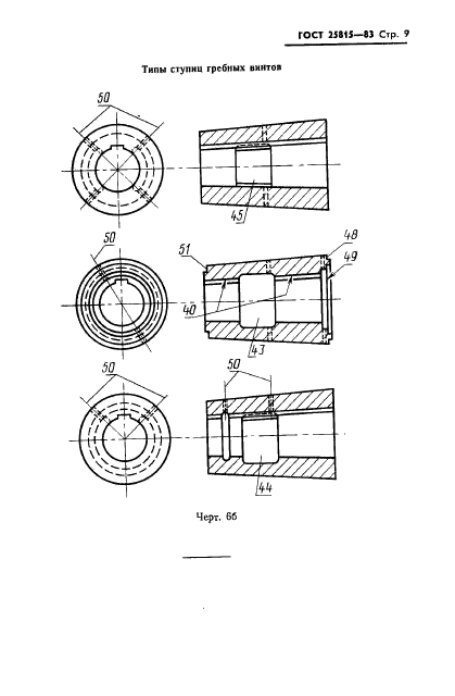
| Область применения: | Настоящий стандарт устанавливает применяемые в науке, технике и производстве термины и определения понятий гребных винтов |
|