| Обозначение: |  ГОСТ 14225-83 |
| Статус: | действующий |
| Название рус.: | Футляры деревянные. Общие технические условия |
| Название англ.: | Wooden cases. General specifications |
| Дата актуализации текста: | 06.04.2015 |
| Дата актуализации описания: | 01.07.2023 |
| Дата издания: | 01.07.2008 |
| Дата введения: | 01.01.1985 |
| Взамен: | ГОСТ 14225-77 |
| Нормативные ссылки: | ГОСТ 1050-88; ГОСТ 1051-73; ГОСТ 1144-80; ГОСТ 1145-80; ГОСТ 1583-93; ГОСТ 2067-93; ГОСТ 2140-81; ГОСТ 2283-79; ГОСТ 2361-74; ГОСТ 2364-74; ГОСТ 2590-88; ГОСТ 2695-83; ГОСТ 3056-90; ГОСТ 3252-80; ГОСТ 3282-74; ГОСТ 3916.1-96; ГОСТ 3916.2-96; ГОСТ 4028-63; ГОСТ 4034-63; ГОСТ 4598-86; ГОСТ 5916-70; ГОСТ 5949-75; ГОСТ 6449.1-82; ГОСТ 6449.2-82; ГОСТ 6449.3-82; ГОСТ 6449.4-82; ГОСТ 6449.5-82; ГОСТ 6467-79; ГОСТ 6958-78; ГОСТ 7016-82; ГОСТ 7417-75; ГОСТ 8486-86; ГОСТ 9330-76; ГОСТ 9389-75; ГОСТ 9621-72; ГОСТ 10299-80; ГОСТ 10300-80; ГОСТ 10303-80; ГОСТ 10304-80; ГОСТ 10450-78; ГОСТ 11371-78; ГОСТ 11474-76; ГОСТ 14192-96; ГОСТ 14231-88; ГОСТ 15612-85; ГОСТ 16523-97; ГОСТ 16561-76; ГОСТ 16588-91; ГОСТ 17305-91 ; ГОСТ 17473-80; ГОСТ 17475-80; ГОСТ 18106-72; ГОСТ 18143-72; ГОСТ 18211-72; ГОСТ 18679-73; ГОСТ 18992-80; ГОСТ 19771-93; ГОСТ 19903-74; ГОСТ 21136-75; ГОСТ 21140-88; ГОСТ 21650-76; ГОСТ 24454-80; ГОСТ 24597-81; ГОСТ 25064-81; ГОСТ 26663-85; ГОСТ 26838-86; ГОСТ 28804-90 |
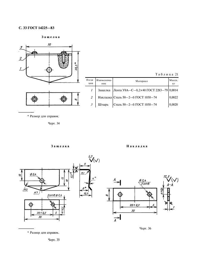
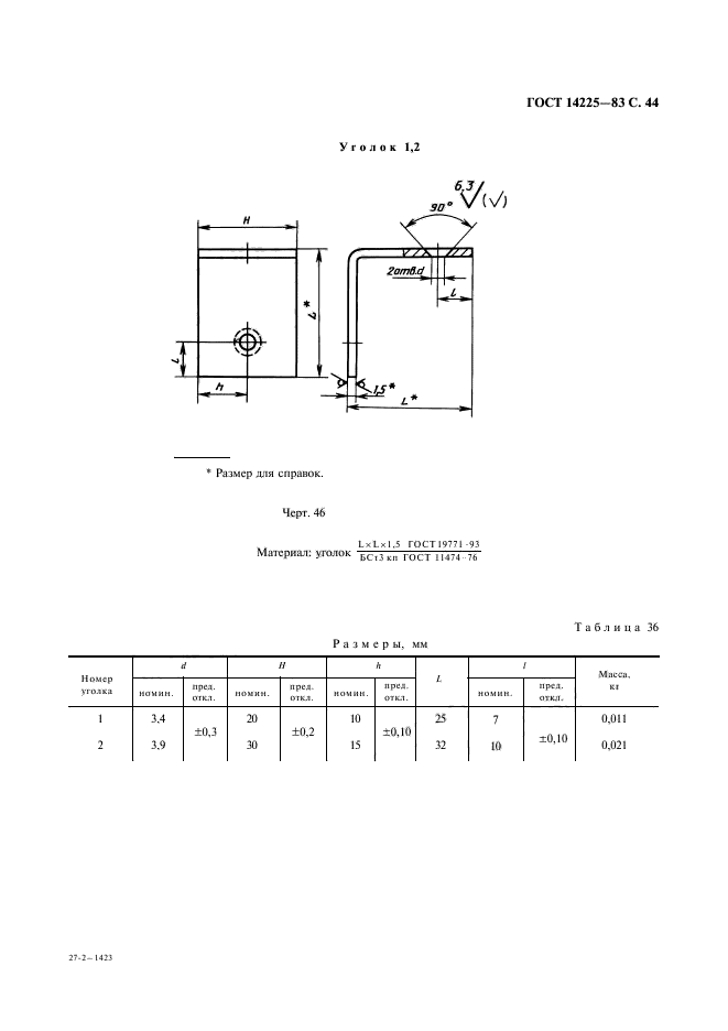
| Область применения: | Настоящий стандарт распространяется на деревянные футляры, предназначенные для упаковывания, транспортирования и хранения приборов, запасных частей, инструментов и принадлежностей массой до 80 кг |
| Список изменений: | №1 от 01.09.1989 (рег. 23.03.1989) «Срок действия продлен» №2 от 01.01.1992 (рег. 24.06.1991) «Срок действия продлен» |
|