| Обозначение: |  ГОСТ 20719-83 |
| Статус: | не действует в РФ |
| Название рус.: | Гидромоторы. Правила приемки и методы испытаний |
| Название англ.: | Hydraulic motors. Acceptance and methods of tests |
| Дата актуализации текста: | 06.04.2015 |
| Дата актуализации описания: | 01.01.2024 |
| Дата издания: | 01.04.1986 |
| Дата введения: | 01.07.1985 |
| Дата окончания срока действия: | 30.11.2023 |
| Код ОКП: | 414200 |
| Взамен: | ГОСТ 20719-75 |
| Содержит требования: | СТ СЭВ 5452-85;СТ СЭВ 5663-86 |
| На территории РФ пользоваться: | ГОСТ Р 70986-2023 |
| Нормативные ссылки: | ISO 4409:1986; ГОСТ 2.601-68; ГОСТ 12.1.034-81; ГОСТ 12.2.040-79; ГОСТ 12.2.086-83; ГОСТ 33-82; ГОСТ 13823-78; ГОСТ 14066-68; ГОСТ 14658-86; ГОСТ 15108-80; ГОСТ 16962-71; ГОСТ 17108-86; ГОСТ 17216-71; ГОСТ 17411-81; ГОСТ 22976-78; ГОСТ 24555-81 |
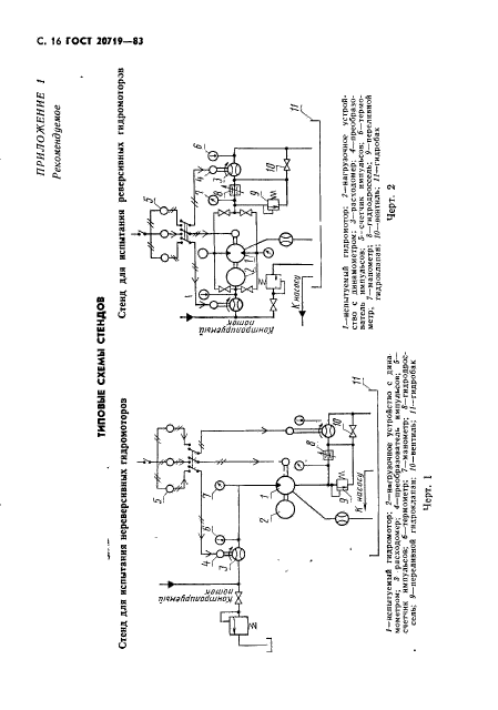
| Область применения: | Настоящий стандарт распространяется на гидромоторы и насос-моторы для объемных гидроприводов и устанавливает правила приемки и методы испытаний |
| Список изменений: | №1 от 01.01.1988 (рег. 30.10.1986) «Срок действия продлен» №2 от 01.03.1990 (рег. 11.09.1989) «Срок действия продлен» |
|