| Обозначение: |  ГОСТ 21924.1-84 |
| Статус: | заменён |
| Название рус.: | Плиты железобетонные предварительно напряженные для покрытий городских дорог. Конструкция и размеры |
| Название англ.: | Rainforced concrete prestressed slabs for pavements of city roads. Structure and dimensions |
| Дата актуализации текста: | 06.04.2015 |
| Дата актуализации описания: | 01.12.2024 |
| Дата издания: | 01.01.2002 |
| Дата введения: | 01.01.1985 |
| Дата окончания срока действия: | 01.08.2024 |
| Код ОКП: | 584611 |
| Заменяющий: | ГОСТ 21924-2024 |
| Нормативные ссылки: | ГОСТ 5781-82; ГОСТ 6727-80; ГОСТ 10884-94; ГОСТ 21924.0-84; ГОСТ 21924.3-84;СНиП 2.01.01-82;СНиП 2.03.01-84 |
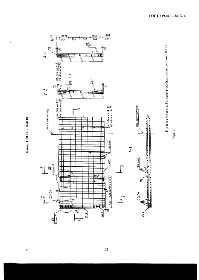
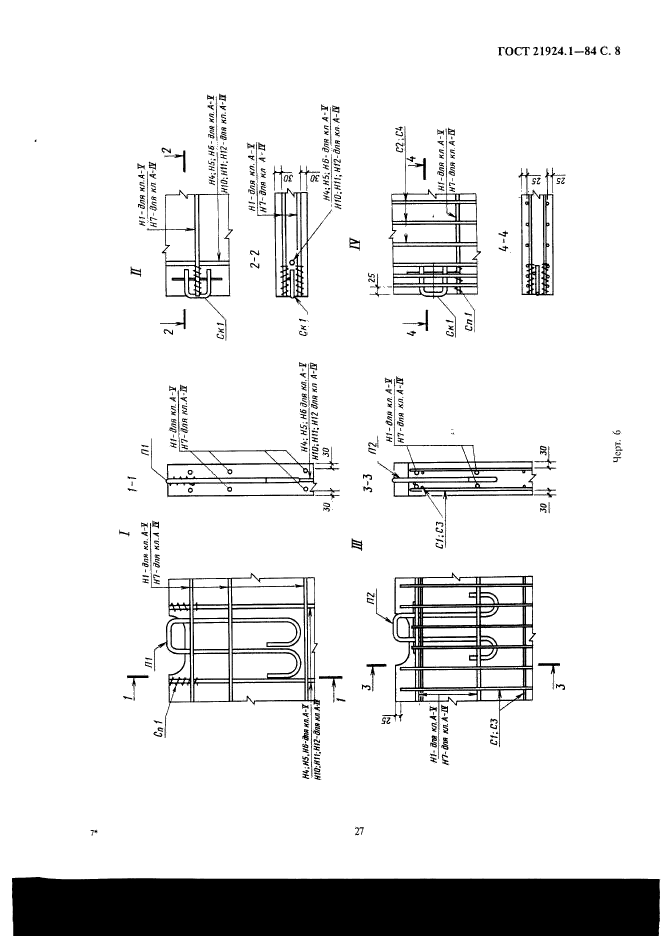
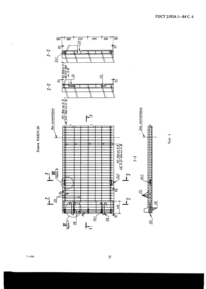
| Область применения: | Настоящий стандарт распространяется на железобетонные предварительно напряженные плиты, изготовляемые из тяжелого бетона и предназначенные для устройства покрытий постоянных и временных городских дорог под автомобильную нагрузку Н-30 и Н-10, и устанавливает конструкцию этих плит |
| Список изменений: | №1 от 01.04.1988 (рег. 08.02.1988) «Срок действия продлен» |
|