| Обозначение: |  ГОСТ 26239.3-84 |
| Статус: | действующий |
| Название рус.: | Кремний полупроводниковый, исходные продукты для его получения и кварц. Методы определения фосфора |
| Название англ.: | Semiconductor selicon, raw materials for its production and quartz. Methods of phosphorus determination |
| Дата актуализации текста: | 06.04.2015 |
| Дата актуализации описания: | 01.07.2023 |
| Дата издания: | 21.01.1985 |
| Дата введения: | 01.01.1986 |
| Нормативные ссылки: | ГОСТ 2603-79; ГОСТ 3765-78; ГОСТ 4198-75; ГОСТ 4328-77; ГОСТ 6006-78; ГОСТ 6259-75; ГОСТ 6709-72; ГОСТ 9285-78; ГОСТ 10484-78; ГОСТ 10931-74; ГОСТ 11125-84; ГОСТ 14261-77; ГОСТ 18300-87; ГОСТ 20015-74; ГОСТ 20288-74; ГОСТ 20490-75; ГОСТ 26239.0-84; ГОСТ 26239.1-84;ТУ 6-09-5384-88;ОСП 72/80 |
| Область применения: | Настоящий стандарт устанавливает экстракционно-фотометрический метод определения фосфора в техническом кремнии, экстракционно-колориметрический метод определения фосфора в трихлорсилане и тетрахлориде кремния и двуокиси кремния (синтетическом кварце); нейтронно-активационный метод определения фосфора в полупроводниковом кремнии |
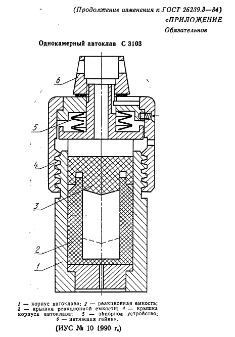
| Список изменений: | №1 от 01.01.1991 (рег. 25.06.1990) «Срок действия продлен» |
|