| Обозначение: |  ГОСТ 26388-84 |
| Статус: | действует только в РФ |
| Название рус.: | Соединения сварные. Методы испытаний на сопротивляемость образованию холодных трещин при сварке плавлением |
| Название англ.: | Welded joints. Test methods on resistance to cold crack formation under fusion welding |
| Дата актуализации текста: | 06.04.2015 |
| Дата актуализации описания: | 01.07.2023 |
| Дата издания: | 25.02.1985 |
| Дата введения: | 01.01.1986 |
| Нормативные ссылки: | ГОСТ 4782-76; ГОСТ 7855-74; ГОСТ 8050-76; ГОСТ 10157-79; ГОСТ 15533-80; ГОСТ 23338-78 |
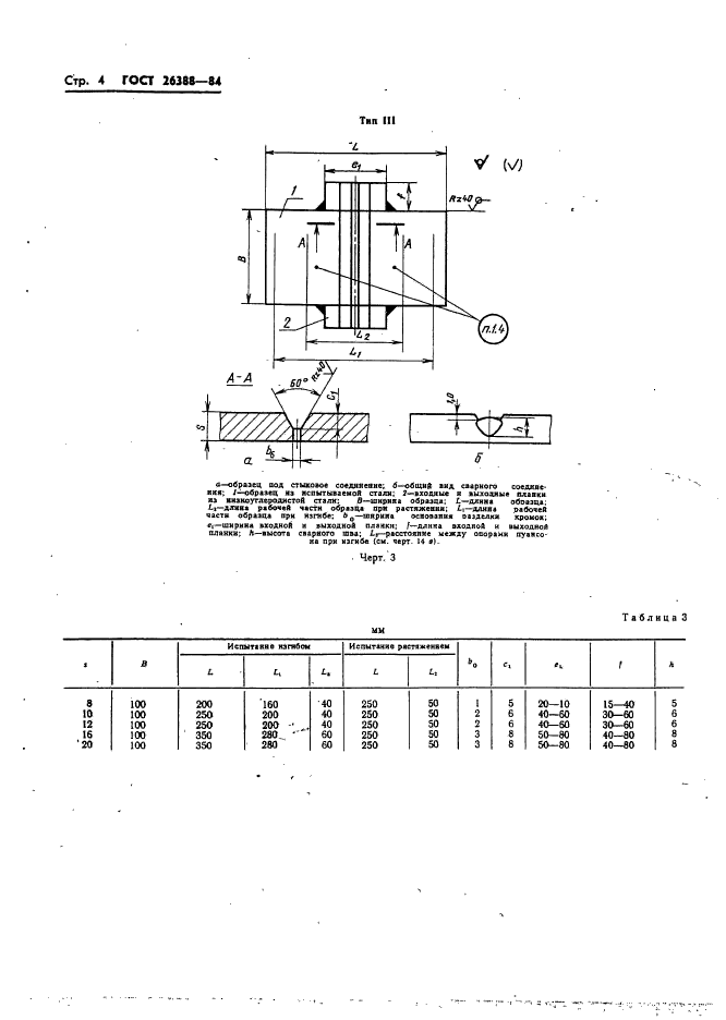
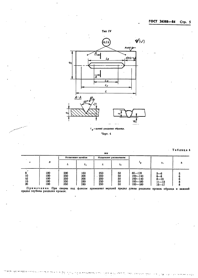
| Область применения: | Стандарт устанавливает методы испытаний на сопротивляемость углеродистых и легированных сталей основного металла в зоне термического влияния и металла шва образованию холодных трещин при однопроходной сварке (в том числе при сварке корневого валика многослойных швов) |
| Список изменений: | №0 от 01.03.2000 (рег. 14.10.1999) «Восстановлен на территории РФ» |
|