Скачать ГОСТ 22580-84 Радиостанции с угловой модуляцией морской подвижной службы. Типы, основные параметры, технические требования и методы измеренийДата актуализации: 01.06.2025 ГОСТ 22580-84
Радиостанции с угловой модуляцией морской подвижной службы. Типы, основные параметры, технические требования и методы измерений
| Обозначение: |  ГОСТ 22580-84 |
| Статус: | действующий |
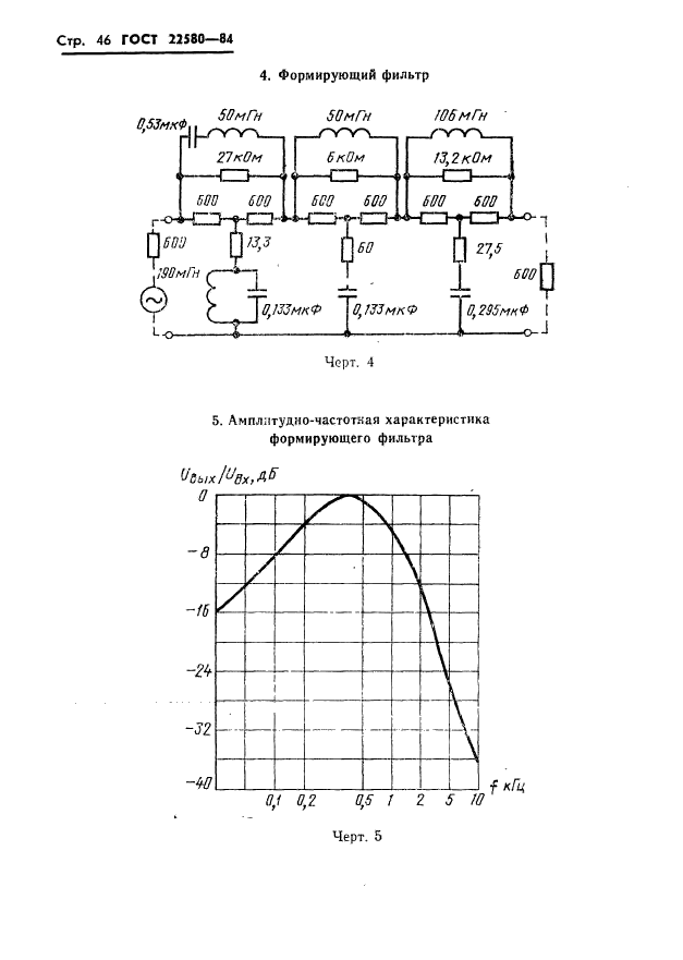
| Название рус.: | Радиостанции с угловой модуляцией морской подвижной службы. Типы, основные параметры, технические требования и методы измерений | | Название англ.: | Angle modulation radio stations of marine mobile service. Types, basic parameters, technical requirements and methods of measurement | | Дата актуализации текста: | 06.04.2015 | | Дата актуализации описания: | 01.07.2023 | | Дата издания: | 05.02.1985 | | Дата введения: | 01.01.1986 | | Код ОКП: | 657100 | | Взамен: | ГОСТ 22580-77 | | Нормативные ссылки: | ГОСТ 8.002-86; ГОСТ 12.1.006-84; ГОСТ 12.1.030-81; ГОСТ 12.3.019-80; ГОСТ 16600-72 | | Область применения: | Настоящий стандарт распространяется на радиостанции с угловой (фазовой) модуляцией, предназначенные для организации телефонной радиосвязи в морской подвижной службе на частотах от 150 до 470 МГц | | Список изменений: | №1 от 01.01.1991 (рег. 24.06.1990) «Срок действия продлен» | |
                                                  
|