| Обозначение: |  ГОСТ 26395-84 |
| Статус: | действующий |
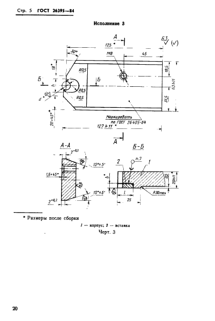
| Название рус.: | Инструмент для холодновысадочных автоматов. Ножи с твердосплавной вставкой для отрезки заготовок болтов с длиной стержня изделия свыше 5 диаметров. Конструкция и размеры |
| Название англ.: | Tools for cold upset automatic machines. Hard alloy in sert cutters for cutting off bolt blanks with shank length above five diameters. Construction and dimensions |
| Дата актуализации текста: | 06.04.2015 |
| Дата актуализации описания: | 01.07.2023 |
| Дата издания: | 30.07.1985 |
| Дата введения: | 01.07.1986 |
| Код ОКП: | 396321 |
| Нормативные ссылки: | ГОСТ 1050-74; ГОСТ 1515-71; ГОСТ 3882-74; ГОСТ 11378-75; ГОСТ 14959-79; ГОСТ 26405-84 |
| Область применения: | Настоящий стандарт распространяется на ножи к двухударным автоматам для отрезки заготовок болтов номинальным диаметром резьбы от 4 до 20 мм |
| Список изменений: | №1 от 01.01.1991 (рег. 25.12.1989) «Срок действия продлен» |
|