| Обозначение: |  ГОСТ 21147-84 |
| Статус: | действующий |
| Название рус.: | Устройства для очистки ленты. Основные и присоединительные размеры |
| Название англ.: | Strip cleaning devices. Basic and coupling dimensions |
| Дата актуализации текста: | 06.04.2015 |
| Дата актуализации описания: | 01.07.2023 |
| Дата издания: | 22.03.1985 |
| Дата введения: | 01.01.1986 |
| Код ОКП: | 396190 |
| Взамен: | ГОСТ 21147-75 |
| Нормативные ссылки: | ГОСТ 3032-76; ГОСТ 3128-70; ГОСТ 5927-70; ГОСТ 7805-70; ГОСТ 11738-84; ГОСТ 18793-80; ГОСТ 22036-76 |
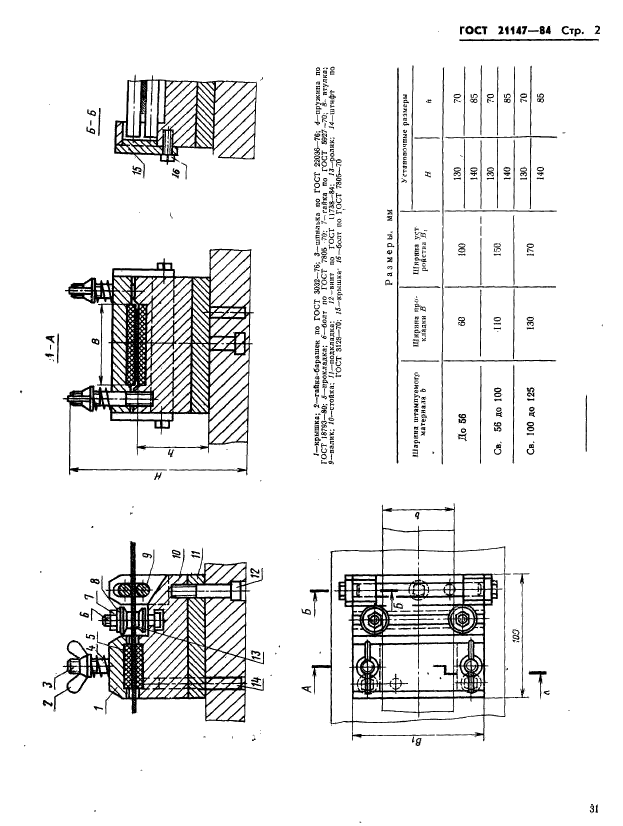
| Область применения: | Настоящий стандарт распространяется на устройства для очистки ленты |
|