| Обозначение: |  ГОСТ 26707-85 |
| Статус: | действующий |
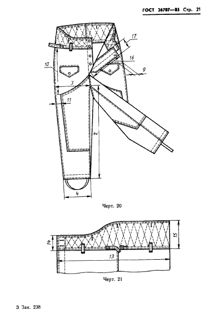
| Название рус.: | Костюм специальный с меховым утеплителем для военнослужащих. Технические условия |
| Название англ.: | Special army cloth underlined with fur. Specifications |
| Дата актуализации текста: | 06.04.2015 |
| Дата актуализации описания: | 01.07.2023 |
| Дата издания: | 14.05.1986 |
| Дата введения: | 01.01.1987 |
| Код ОКП: | 892874 |
| Нормативные ссылки: | ГОСТ 23167-78; ГОСТ 4661-76; ГОСТ 19196-80; ГОСТ 21790-76; ГОСТ 7297-75; ГОСТ 7259-77; ГОСТ 6391-80; ГОСТ 5665-77; ГОСТ 6309-80; ГОСТ 22665-83; ГОСТ 20757-75; ГОСТ 12807-79; ГОСТ 11259-79; ГОСТ 7069-74; ГОСТ 24782-81 |
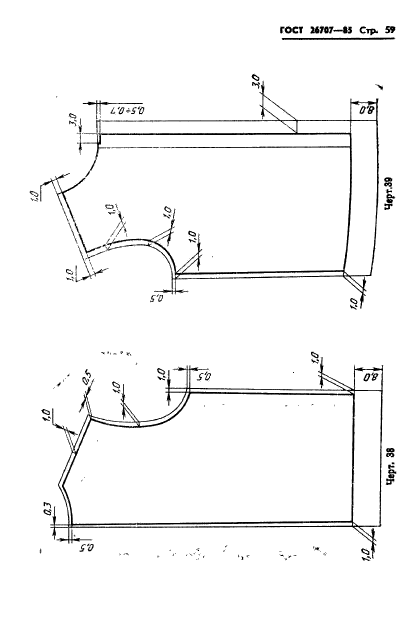
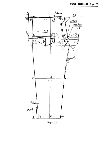
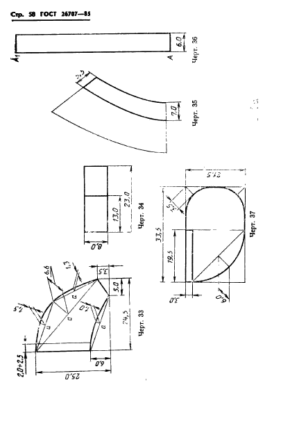
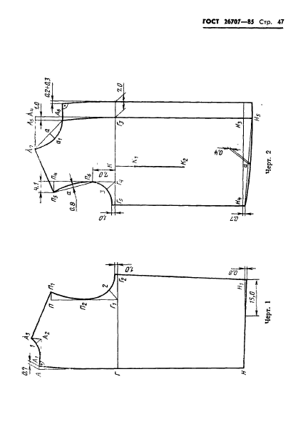
| Область применения: | Настоящий стандарт распространяется на зимний костям со съемной меховой подкладкой - куртка, брюки и капюшон, предназначенный в качестве спецодежды для военнослужащих Советской Армии и Министерства внутренних дел СССР |
| Список изменений: | №1 от 01.01.1989 (рег. 22.06.1988) «Поправка» №2 от 01.01.1992 (рег. 23.05.1991) «Срок действия продлен» |
|