| Обозначение: |  ГОСТ 12.4.163-85 |
| Статус: | действующий |
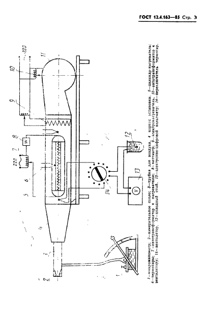
| Название рус.: | Система стандартов безопасности труда. Материалы с полимерным покрытием для средств защиты рук. Метод определения суммарного теплового сопротивления |
| Название англ.: | Occupational safety standards system. Polymer coated materials for hand protective means. Method for determination of summary thermal resistance |
| Дата актуализации текста: | 06.04.2015 |
| Дата актуализации описания: | 01.07.2023 |
| Дата издания: | 13.11.1985 |
| Дата введения: | 01.01.1987 |
| Код ОКП: | 872900 |
| Нормативные ссылки: | ГОСТ 12.1.004-76; ГОСТ 12.2.007.0-75; ГОСТ 11358-74; ГОСТ 17073-71 |
| Область применения: | Настоящий стандарт распространяется на материалы с полимерным покрытием для средств защиты рук и устанавливает метод определения суммарного теплового сопротивления в интервале температур от 0 до 100 град. С. Метод применяется на стадии разработки и постановки продукции на производство |
|