| Обозначение: |  ГОСТ 26612-85 |
| Статус: | действующий |
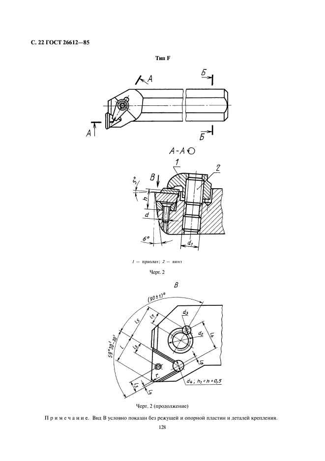
| Название рус.: | Резцы расточные с креплением сменных пластин прихватом сверху. Конструкция и размеры |
| Название англ.: | Boring tools with clamped shangeable inserts pressed from the top. Design and dimensions |
| Дата актуализации текста: | 06.04.2015 |
| Дата актуализации описания: | 01.07.2023 |
| Дата издания: | 01.12.2003 |
| Дата введения: | 01.07.1986 |
| Код ОКП: | 392100 |
| Нормативные ссылки: | ГОСТ 28101-89; ГОСТ 26476-85; ГОСТ 19073-80; ГОСТ 25003-81; ГОСТ 19043-80; ГОСТ 19084-80; ГОСТ 17475-80; ГОСТ 19074-80; ГОСТ 19045-80; ГОСТ 24250-80; ГОСТ 19076-80; ГОСТ 19049-80; ГОСТ 19085-80; ГОСТ 19077-80; ГОСТ 19050-80; ГОСТ 24252-80; ГОСТ 19078-80; ГОСТ 19056-80 |
| Область применения: | Настоящий стандарт распространяется на токарные расточные резцы с механическим креплением сменных многогранных пластин, изготовляемые для нужд народного хозяйства и экспорта |
| Список изменений: | №1 от 31.07.1992 (рег. 28.02.1992) «Срок действия продлен» |
|