| Обозначение: |  ГОСТ 26466-85 |
| Статус: | действующий |
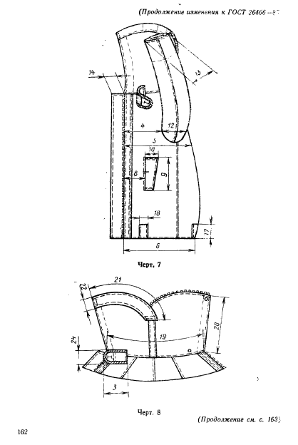
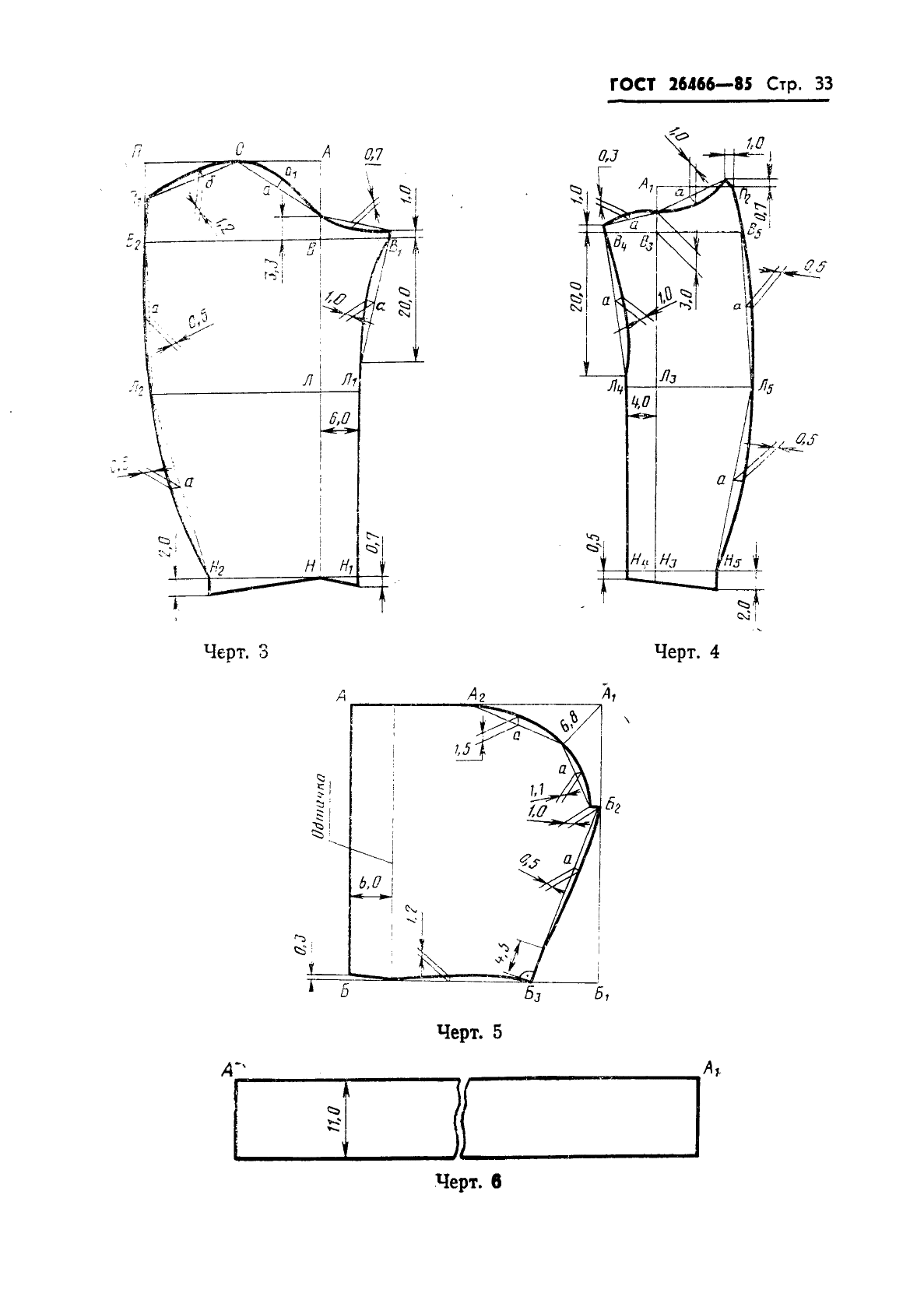
| Название рус.: | Костюм специальный меховой для военнослужащих Военно-Морского Флота. Технические условия |
| Название англ.: | Special fur suit for Navy soldiers. Specifications |
| Дата актуализации текста: | 06.04.2015 |
| Дата актуализации описания: | 01.07.2023 |
| Дата издания: | 29.05.1985 |
| Дата введения: | 01.07.1986 |
| Код ОКП: | 892877 |
| Нормативные ссылки: | ГОСТ 23167-78 |
| Область применения: | Настоящий стандарт распространяется на зимний костюм из шубной овчины с пленочным покрытием, состоящий из куртки и брюк, предназначенный в качестве спецодежды для личного состава Военно-Морского Флота |
| Список изменений: | №1 от 01.07.1991 (рег. 29.12.1990) «Срок действия продлен» |
|