| Обозначение: |  ГОСТ 26467-85 |
| Статус: | действующий |
| Название рус.: | Лента порошковая наплавочная. Общие технические условия |
| Название англ.: | Hard-surfacing flux-cored strip. General specifications |
| Дата актуализации текста: | 06.04.2015 |
| Дата актуализации описания: | 01.07.2023 |
| Дата издания: | 27.05.1985 |
| Дата введения: | 01.07.1986 |
| Код ОКП: | 147800 |
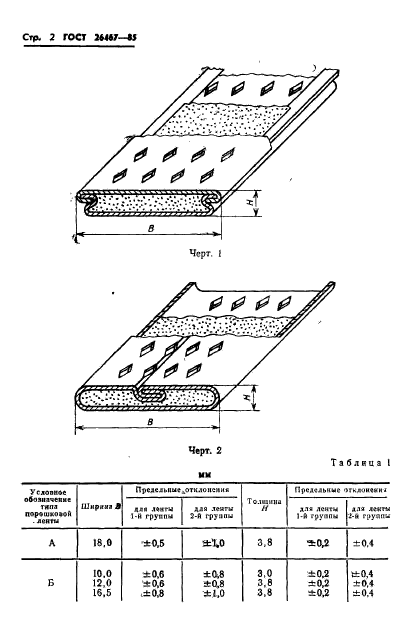
| Область применения: | Настоящий стандарт распространяется на порошковую ленту, предназначенную для дуговой механизированной наплавки поверхностных слоев с особыми свойствами |
|