| Обозначение: |  ГОСТ 15130-86 |
| Статус: | действующий |
| Название рус.: | Стекло кварцевое оптическое. Общие технические условия |
| Название англ.: | Silica optical glass. General specifications |
| Дата актуализации текста: | 06.04.2015 |
| Дата актуализации описания: | 01.07.2023 |
| Дата издания: | 01.04.1999 |
| Дата введения: | 01.01.1988 |
| Код ОКП: | 593211 |
| Взамен: | ГОСТ 15130-79 |
| Нормативные ссылки: | ГОСТ 427-75; ГОСТ 577-68; ГОСТ 2939-63; ГОСТ 2991-85; ГОСТ 3479-85; ГОСТ 3518-80; ГОСТ 3519-91; ГОСТ 3521-81; ГОСТ 3522-81; ГОСТ 3647-80; ГОСТ 7661-67; ГОСТ 8273-75; ГОСТ 9142-90; ГОСТ 9411-91; ГОСТ 10197-70; ГОСТ 11007-66; ГОСТ 13917-92; ГОСТ 14192-96; ГОСТ 15150-69; ГОСТ 16548-80; ГОСТ 17308-88; ГОСТ 21140-88; ГОСТ 22291-83; ГОСТ 25706-83 |
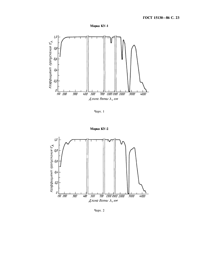
| Область применения: | Настоящий стандарт распространяется на кварцевое оптическое стекло, предназначенное для изделий, работающих при прохождении света в одном направлении, и выпускаемое в заготовках размером (диаметром или диагональю) не более 1200 мм |
| Список изменений: | №1 от 01.07.1990 (рег. 30.01.1990) «Срок действия продлен» №2 от 01.09.1991 (рег. 22.02.1991) «Срок действия продлен» |
|