Скачать ГОСТ 26890-86 Гидроаппаратура. Присоединительные размеры стыковых плоскостей монтажных плитДата актуализации: 01.06.2025 ГОСТ 26890-86
Гидроаппаратура. Присоединительные размеры стыковых плоскостей монтажных плит
| Обозначение: |  ГОСТ 26890-86 |
| Статус: | действующий |
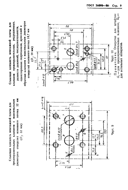
| Название рус.: | Гидроаппаратура. Присоединительные размеры стыковых плоскостей монтажных плит | | Название англ.: | Hydraulic valves. Connecting dimensions of subplates mounting surfaces | | Дата актуализации текста: | 06.04.2015 | | Дата актуализации описания: | 01.07.2023 | | Дата издания: | 31.07.1986 | | Дата введения: | 01.07.1987 | | Код ОКП: | 414400 | | Содержит требования: | CT CЭB 5195-85 | | Нормативные ссылки: | ISO 4401-80 | | Область применения: | Настоящий стандарт распространяется на гидроаппараты с номинальным давлением до 32 МПа и устанавливает присоединительные размеры стыковых плоскостей монтажных плит для распределителей, клапанов предохранительных, редукционных, разности давлений, обратных, последовательности, односторонних гидрозамков, дросселей и регуляторов расхода | |
                               
|