| Обозначение: |  ГОСТ 26222-86 |
| Статус: | действующий |
| Название рус.: | Детекторы ионизирующих излучений полупроводниковые. Методы измерения параметров |
| Название англ.: | Ionizing-radiation semiconductor detectors. Methods of parameters measurement |
| Дата актуализации текста: | 06.04.2015 |
| Дата актуализации описания: | 01.07.2023 |
| Дата издания: | 09.07.1986 |
| Дата введения: | 01.07.1987 |
| Код ОКП: | 621752 |
| Взамен: | ГОСТ 17619-72; ГОСТ 26222-84 |
| Нормативные ссылки: | ГОСТ 8.313-78; ГОСТ 8.348-79; ГОСТ 12.1.030-81; ГОСТ 12.2.007.0-75; ГОСТ 20.57.406-81; ГОСТ 7113-77; ГОСТ 18177-81; ГОСТ 18398-81; ГОСТ 23683-79 |
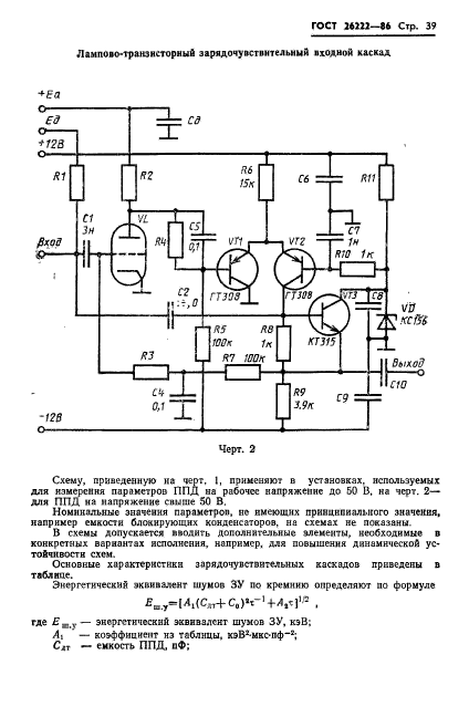
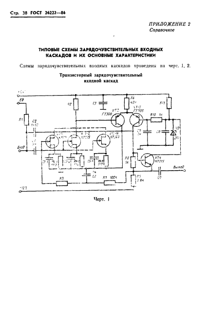
| Область применения: | Настоящий стандарт распространяется на полупроводниковые детекторы ионизирующих излучений (ППД) и устанавливает методы измерения их электрических и радиометрических параметров: темнового тока; емкости (гармонический и зарядовый методы); энергетического разрешения; энергетического эквивалента шума (метод непосредственного измерения и спектрометрический метод); энергетического эквивалента толщины метрвого слоя; дискретной чувствительности регистрации; средней частоты следования фоновых импульсов; радиационной помехоустойчивости; аналоговой чувствительности регистарции (статический и импульсный методы); времени нарастания сигнала; длительсности фронта нарастания сигнала.Стандарт не распространяется на ППД, изготавливаемые по ГОСТ 18398-81, а также на запоминающие ППД |
|