| Обозначение: |  ГОСТ 13940-86 |
| Статус: | действующий |
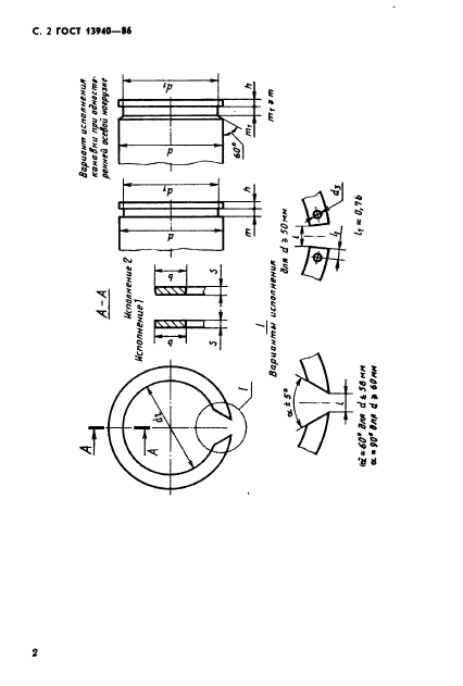
| Название рус.: | Кольца пружинные упорные плоские наружные концентрические и канавки для них. Конструкция и размеры |
| Название англ.: | Retaining spring flat concentric rings for shafts and grooves for them. Dimensions |
| Дата актуализации текста: | 06.04.2015 |
| Дата актуализации описания: | 01.01.2021 |
| Дата издания: | 01.09.1988 |
| Дата введения: | 01.01.1988 |
| Код ОКП: | 459830 |
| Взамен: | ГОСТ 13940-68 |
| Нормативные ссылки: | ГОСТ 13944-86 |
| Область применения: | Настоящий стандарт распространяется на пружинные упорные плоские наружные концентрические кольца классов точности А, В и С и канавки для них, предназначенные для закрепления от осевого смещения подшипников качения и других деталей на валах диаметром от 4 до 200 мм. |
| Список изменений: | №1 от 01.01.1989 (рег. 28.06.1988) «Срок действия продлен» |
|