| Обозначение: |  ГОСТ 27019-86 |
| Статус: | заменён |
| Название рус.: | Материалы полимерные рулонные для полов. Ускоренный метод определения звукоизоляционных свойств |
| Название англ.: | Rolled polymer materials for floors. Method of rapid determination of sound-insulation properties |
| Дата актуализации текста: | 06.04.2015 |
| Дата актуализации описания: | 01.07.2023 |
| Дата издания: | 29.01.1987 |
| Дата введения: | 01.01.1987 |
| Дата окончания срока действия: | 01.07.2017 |
| Код ОКП: | 577100 |
| Заменяющий: | ГОСТ 27019-2016 |
| Нормативные ссылки: | ГОСТ 24210-80; ГОСТ 25865-83; ГОСТ 577-68; ГОСТ 5072-79; ГОСТ 427-75; ГОСТ 166-80; ГОСТ 11358-74 |
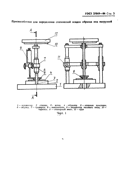
| Область применения: | Настоящий стандарт распространяется на полимерные материалы для покрытия полов в помещениях жилых и общественных зданий, укладываемых непосредственно по несущей плите перекрытия, и устанавливает ускоренный метод определения звукоизоляционных свойств полимерных рулонных покрытий для полов |
|