Скачать ГОСТ 22133-86 Покрытия лакокрасочные металлорежущего, кузнечно-прессового, литейного и деревообрабатывающего оборудования. Общие требованияДата актуализации: 01.06.2025 ГОСТ 22133-86
Покрытия лакокрасочные металлорежущего, кузнечно-прессового, литейного и деревообрабатывающего оборудования. Общие требования
| Обозначение: |  ГОСТ 22133-86 |
| Статус: | действующий |
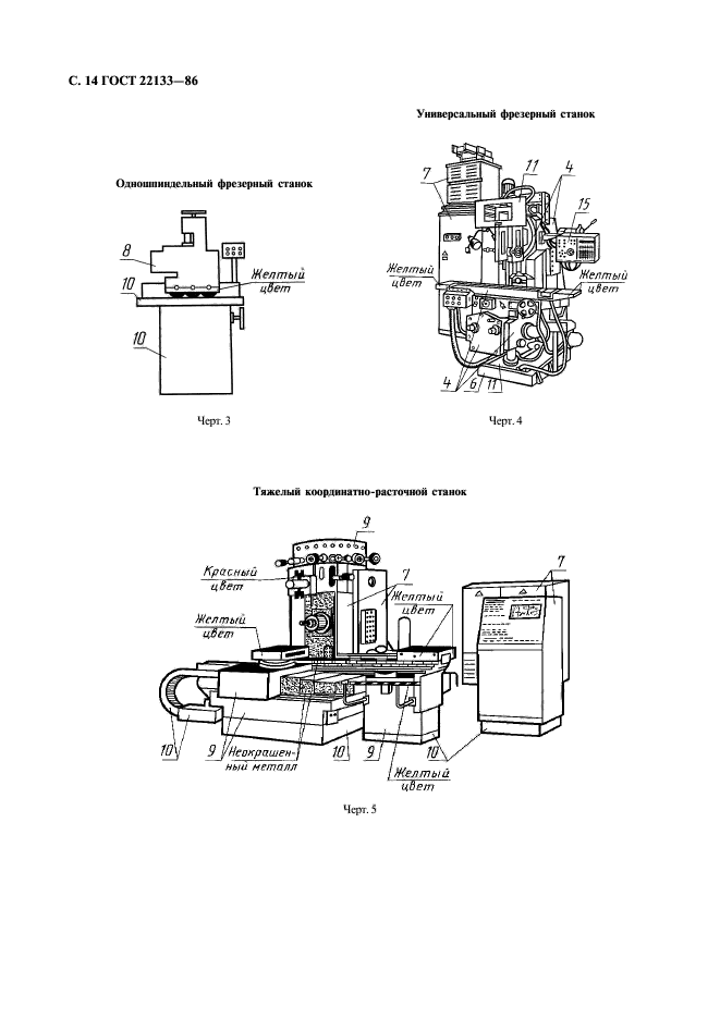
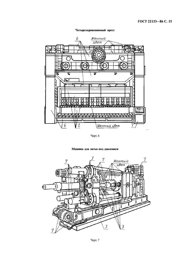
| Название рус.: | Покрытия лакокрасочные металлорежущего, кузнечно-прессового, литейного и деревообрабатывающего оборудования. Общие требования | | Название англ.: | Paint coatings of metal-cutting, press-forging, foundry and wood-working equipment. General requirements | | Дата актуализации текста: | 06.04.2015 | | Дата актуализации описания: | 01.07.2023 | | Дата издания: | 01.02.2001 | | Дата введения: | 01.01.1988 | | Взамен: | ГОСТ 22133-76 | | Нормативные ссылки: | ГОСТ 9.032-74; ГОСТ 9.074-74; ГОСТ 9.104-79; ГОСТ 9.401-79; ГОСТ 9.402-80; ГОСТ 12.1.004-91; ГОСТ 12.1.005-88; ГОСТ 12.1.019-79; ГОСТ 12.2.009-80; ГОСТ 12.2.032-78; ГОСТ 12.2.033-78; ГОСТ 12.2.049-80; ГОСТ 12.2.061-81; ГОСТ 12.2.072-82; ГОСТ 12.3.002-75; ГОСТ 12.3.005-75; ГОСТ 12.4.026-76; ГОСТ 8-82; ГОСТ 926-82; ГОСТ 1577-93; ГОСТ 3242-79; ГОСТ 5264-80; ГОСТ 6465-76; ГОСТ 6631-74; ГОСТ 7721-89; ГОСТ 9109-81; ГОСТ 9754-76; ГОСТ 10144-89; ГОСТ 11066-74; ГОСТ 12034-77; ГОСТ 13088-67; ГОСТ 14637-89; ГОСТ 15907-70; ГОСТ 16523-97; ГОСТ 18099-78; ГОСТ 19281-89; ГОСТ 21631-76; ГОСТ 22438-85; ГОСТ 23143-83; ГОСТ 24709-81; ГОСТ 23343-78; ГОСТ 24784-81; ГОСТ 25129-82; ГОСТ 25515-82 | | Область применения: | Настоящий стандарт распространяется на лакокрасочные покрытия металлорежущего, кузнечно-прессового, литейного и деревообрабатывающего оборудования, в том числе роботизированных технологических комплексов, устанавливает общие требования, цвет, фактуру и классы лакокрасочных покрытий | | Список изменений: | №1 от 01.09.1988 (рег. 19.04.1988) «Срок действия продлен» | |
                 
|