| Обозначение: |  ГОСТ 27419-87 |
| Статус: | действующий |
| Название рус.: | Рубашки форменные женские. Технические условия |
| Название англ.: | Women's uniform shirts. Specifications |
| Дата актуализации текста: | 06.04.2015 |
| Дата актуализации описания: | 01.07.2023 |
| Дата издания: | 04.01.1988 |
| Дата введения: | 01.01.1989 |
| Код ОКП: | 858266 |
| Нормативные ссылки: | ГОСТ 4103-82; ГОСТ 6309-80; ГОСТ 11259-79; ГОСТ 11518-78; ГОСТ 11680-76; ГОСТ 12807-79; ГОСТ 19159-85; ГОСТ 21219-75; ГОСТ 24782-81;OCT 17-324-84;OCT 17-326-81;OCT 17-466-85;OCT 17-699-83;OCT 17-805-85;OCT 17-835-80 |
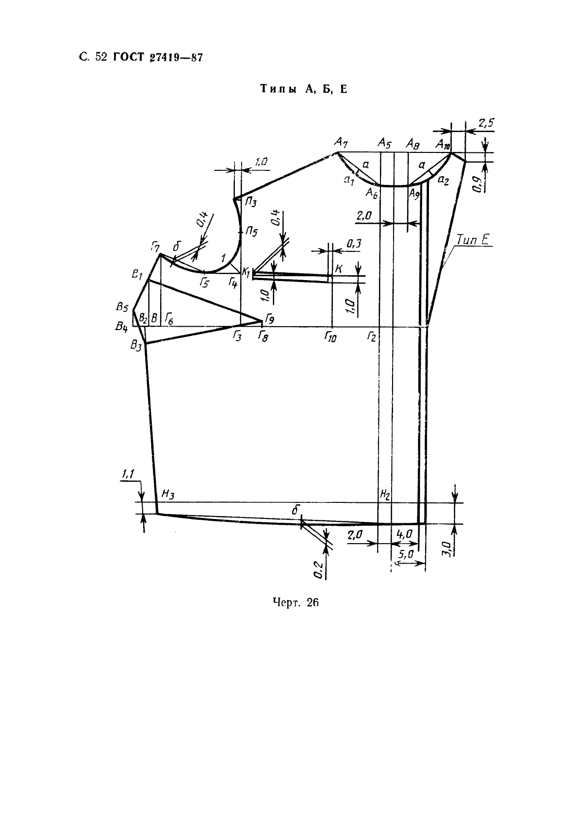
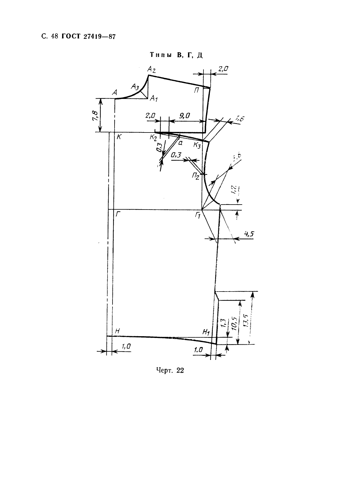
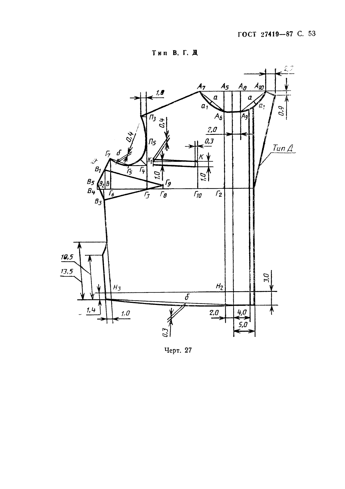
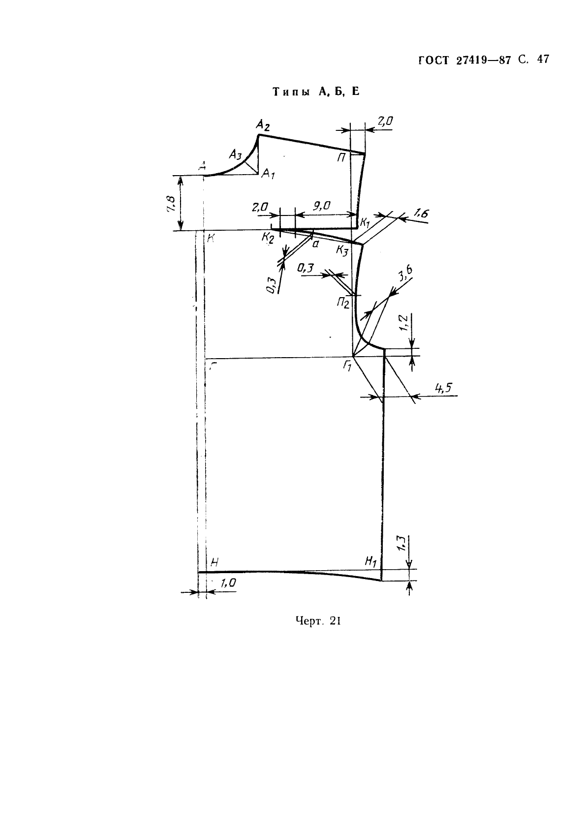
| Область применения: | Настоящий стандарт распространяется на рубашки (блузки) форменные для военнослужащих - женщин Советской Армии, Военно-Морского Флота, Комитета Государственной безопасности СССР и внутренних войск, начальствующего и рядового состава внутренней службы и милиции, рабочих и служащих Советской Армии и Военно-Морского Флота, начальствующего состава ведомственной военизированной и профессиональной пожарной охраны |
|