| Обозначение: |  ГОСТ 26258-87 |
| Статус: | действующий |
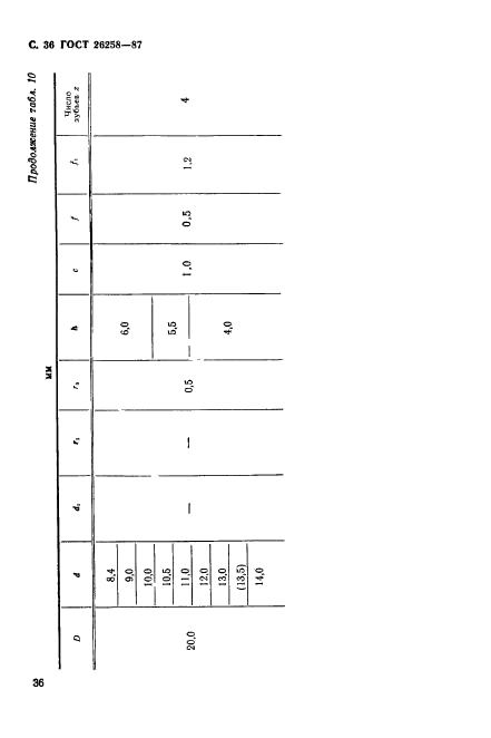
| Название рус.: | Цековки цилиндрические для обработки опорных поверхностей под крепежные детали. Технические условия |
| Название англ.: | Counterbores desighed for working bearing surfaces under fastenings. Specifications |
| Дата актуализации текста: | 06.04.2015 |
| Дата актуализации описания: | 01.07.2023 |
| Дата издания: | 05.02.1988 |
| Дата введения: | 01.01.1989 |
| Код ОКП: | 391650 |
| Взамен: | ГОСТ 26258-84 |
| Нормативные ссылки: | ГОСТ 8.051-81; ГОСТ 9.014-78; ГОСТ 1050-74; ГОСТ 1412-85; ГОСТ 1477-84; ГОСТ 2848-75; ГОСТ 3009-78; ГОСТ 3882-74; ГОСТ 4543-71; ГОСТ 5915-70; ГОСТ 9013-59; ГОСТ 9378-75; ГОСТ 9472-83; ГОСТ 11284-75; ГОСТ 12876-67; ГОСТ 14034-74; ГОСТ 15527-70; ГОСТ 16093-81; ГОСТ 18088-83; ГОСТ 19265-73; ГОСТ 23726-79; ГОСТ 24705-81; ГОСТ 25400-82; ГОСТ 25557-82; ГОСТ 25706-83; ГОСТ 26259-87; ГОСТ 26260-87 |
| Область применения: | Настоящий стандарт распространяется на цилиндрические цековки, предназначенные для обработки опорных поверхностей под крепежные детали, кроме цековок под увеличенные шайбы для обработки опорных поверхностей диаметром свыше 61 мм и выступающие опорные поверхности диаметром до 15 мм |
|