Скачать ГОСТ 27562-87 Руды железные, концентраты, агломераты и окатыши. Определение гранулометрического состава методом ситового анализаДата актуализации: 01.06.2025 ГОСТ 27562-87
Руды железные, концентраты, агломераты и окатыши. Определение гранулометрического состава методом ситового анализа
| Обозначение: |  ГОСТ 27562-87 |
| Статус: | действующий |
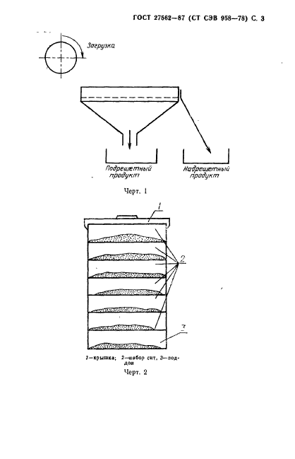
| Название рус.: | Руды железные, концентраты, агломераты и окатыши. Определение гранулометрического состава методом ситового анализа | | Название англ.: | Iron ores, concentrates, sinters and pellets. Determination of size distribution by sieving | | Дата актуализации текста: | 06.04.2015 | | Дата актуализации описания: | 01.07.2023 | | Дата издания: | 25.02.1988 | | Дата введения: | 01.07.1988 | | Код ОКП: | 070900 | | Содержит требования: | CT CЭB 958-78 | | Нормативные ссылки: | ГОСТ 17495-80; ГОСТ 2715-75; ГОСТ 12764-73;CT CЭB 1197-78;CT CЭB 959-78 | | Область применения: | Метод основан на определении количественного распределения зерен железной руды, концентрата, агломерата и окатышей по крупности путем сухого или мокрого рассева на одном или нескольких ситах с последующим взвешиванием полученных классов крупности и вычислением их выхода в процентах к общей массе пробы, взятой для рассева | |
         
|