| Обозначение: |  ГОСТ 9.506-87 |
| Статус: | действующий |
| Название рус.: | Единая система защиты от коррозии и старения. Ингибиторы коррозии металлов в водно-нефтяных средах. Методы определения защитной способности |
| Название англ.: | Unified system of corrosion and ageing protection. Corrosion inhibitors of metals in water-petroleum environments. Methods of protective ability evaluation |
| Дата актуализации текста: | 06.04.2015 |
| Дата актуализации описания: | 01.07.2023 |
| Дата издания: | 19.01.1988 |
| Дата введения: | 01.07.1988 |
| Содержит требования: | СТ СЭВ 5733-86 |
| Нормативные ссылки: | ГОСТ 9.502-82; ГОСТ 9.905-82; ГОСТ 9.907-83; ГОСТ 380-71; ГОСТ 1050-74; ГОСТ 2603-79; ГОСТ 25336-82; ГОСТ 24104-80; ГОСТ 17792-72; ГОСТ 12026-76; ГОСТ 9965-76; ГОСТ 9293-74; ГОСТ 8711-78; ГОСТ 8505-80 |
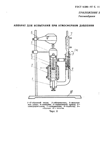
| Область применения: | Настоящий стандарт распределяется на ингибиторы коррозии металлов (далее - ингибиторы), применяемые в нефтяной промышленности для защиты от коррозии конструкционных металлов нефтепромыслового оборудования и коммуникаций в водно-нефтяных средах, и устанавливает для метода определения их защитной способности при сплошной коррозии: электрохимический - для качественной предварительной и сравнительной оценки защитной способности ингибиторов в водной части испытуемой среды; гравиметрический - для количественной оценки защитной способности ингибиторов и выдачи рекомендаций к стендовым испытаниям наиболее эффективных ингибиторов. |
|