| Обозначение: |  ГОСТ 21655-87 |
| Статус: | действующий |
| Название рус.: | Каналы и тракты магистральной первичной сети единой автоматизированной системы связи. Электрические параметры и методы измерений |
| Название англ.: | Channels and links of primary trunk network within all-union automatic communication system. Electric parameters and methods of measurement |
| Дата актуализации текста: | 06.04.2015 |
| Дата актуализации описания: | 01.01.2021 |
| Дата издания: | 19.02.1988 |
| Дата введения: | 01.01.1989 |
| Код ОКП: | 660000 |
| Нормативные ссылки: | ГОСТ 5237-83 |
| Область применения: | Настоящий стандарт распространяется на каналы тональной частоты, первичные, вторичные и третичные сетевые тракты и первичные, вторичные и третичные широкополосные каналы магистральной первичной сети между сетевыми станциями и сетевыми узлами магистральной сети, образованные в системах передачи с частотным разделением каналов (кабельные системы передачи), радиорелейные системы передачи прямой видимости, спутниковые системы передачи и предназначенные для организации передачи сигналов сообщений различных видов между отдельными пунктами сети. Стандарт устанавливает нормы электрических параметров и методы их измерений |
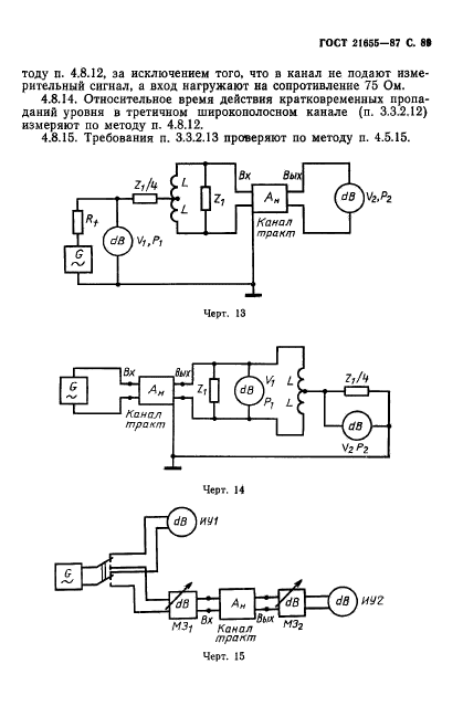
|