| Обозначение: |  ГОСТ 15518-87 |
| Статус: | действующий |
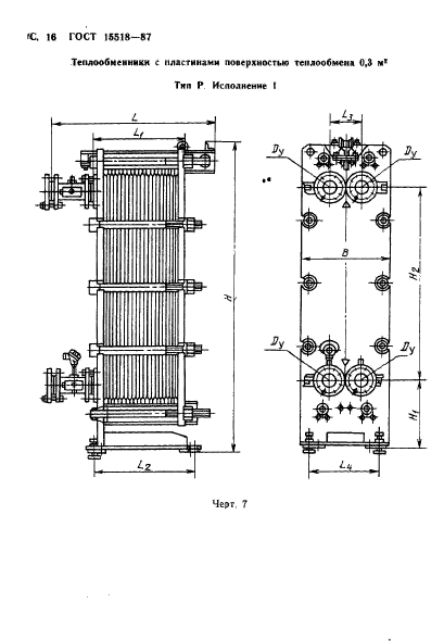
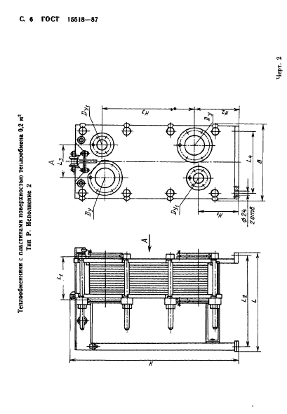
| Название рус.: | Аппараты теплообменные пластинчатые. Типы, параметры и основные размеры |
| Название англ.: | Plate heat exchanges. Types, parameters and basic dimensions |
| Дата актуализации текста: | 06.04.2015 |
| Дата актуализации описания: | 01.07.2023 |
| Дата издания: | 01.11.1998 |
| Дата введения: | 01.01.1990 |
| Код ОКП: | 361250 |
| Взамен: | ГОСТ 15518-83 |
| Нормативные ссылки: | ГОСТ 12.0.003-74; ГОСТ 12.1.005-88; ГОСТ 12.1.007-76; ГОСТ 12.1.018-93; ГОСТ 12.2.003-91; ГОСТ 12.2.007.0-75; ГОСТ 15150-69 |
| Область применения: | Настоящий стандарт распространяется на теплообменные пластинчатые аппараты поверхностью теплообмена от 1 до 800 м кв, работающие при избыточном давлении не ниже 0,002 МПа и температурах рабочих сред от минус 70 до плюс 200 град. С |
| Список изменений: | №1 от 01.08.1992 (рег. 29.01.1992) «Срок действия продлен» |
|