| Обозначение: |  ГОСТ 27483-87 |
| Статус: | действующий |
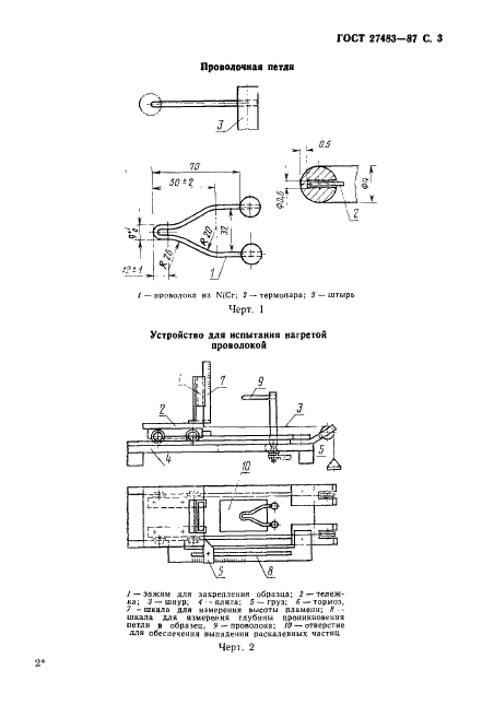
| Название рус.: | Испытания на пожароопасность. Методы испытаний. Испытания нагретой проволокой |
| Название англ.: | Fire hazard testing. Test methods. Glow-wire test and guidance |
| Дата актуализации текста: | 06.04.2015 |
| Дата актуализации описания: | 01.01.2021 |
| Дата издания: | 29.01.1988 |
| Дата введения: | 01.01.1989 |
| Код ОКП: | 340900 |
| Содержит требования: | IEC 60695-2-1(1980) |
| Нормативные ссылки: | IEC 60584-1(1977); ГОСТ 3044-84 |
| Область применения: | Настоящий стандарт устанавливает один из методов испытаний электротехнических изделий и их компонентов на пожароопасность |
|