| Обозначение: |  ГОСТ 27216-87 |
| Статус: | действующий |
| Название рус.: | Костюм специальный для военнослужащих комендантских частей. Технические условия |
| Название англ.: | Special army clothes for commandant units. Specifications |
| Дата актуализации текста: | 06.04.2015 |
| Дата актуализации описания: | 01.07.2023 |
| Дата издания: | 08.06.1987 |
| Дата введения: | 01.07.1988 |
| Код ОКП: | 858559 |
| Нормативные ссылки: | ГОСТ 4103-82; ГОСТ 6309-80; ГОСТ 19008-82; ГОСТ 19159-85; ГОСТ 17-805-85;OCT 17-602-81;TУ 17 PCФCP 62-11025-82 |
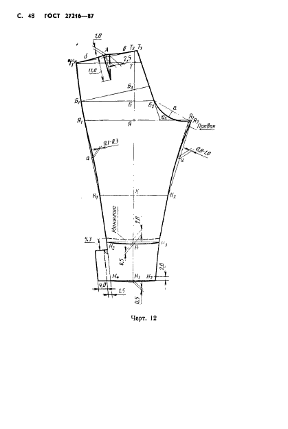
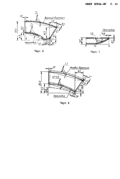
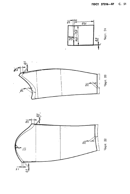
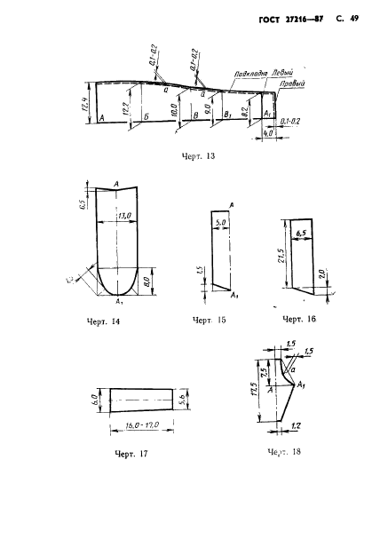
| Область применения: | Настоящий стандарт распространяется на утепленные костюмы, предназначенные в качестве специальной одежды для военнослужащих комендантских частей |
|