| Обозначение: |  ГОСТ 27204-87 |
| Статус: | не действует в РФ |
| Название рус.: | Формы стальные для изготовления железобетонных изделий. Борта. Конструкция и размеры |
| Название англ.: | Steel moulds for reinforced concrete members. Sides. Construction and dimensions |
| Дата актуализации текста: | 06.04.2015 |
| Дата актуализации описания: | 01.07.2023 |
| Дата издания: | 28.05.1987 |
| Дата введения: | 01.01.1988 |
| Дата окончания срока действия: | 01.01.2022 |
| Код ОКП: | 484223;484225;484226 |
| На территории РФ пользоваться: | ГОСТ Р 59933-2001 |
| Нормативные ссылки: | ГОСТ 9.303-84; ГОСТ 380-71; ГОСТ 1050-88; ГОСТ 2789-73; ГОСТ 4640-84; ГОСТ 5264-80; ГОСТ 6132-79; ГОСТ 9484-81; ГОСТ 9573-82; ГОСТ 11534-75; ГОСТ 14771-76; ГОСТ 15150-69; ГОСТ 23518-79; ГОСТ 25346-82; ГОСТ 25781-83; ГОСТ 25878-85 |
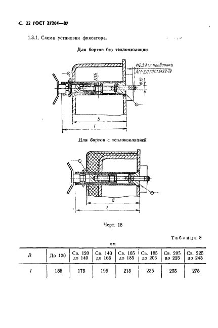
| Область применения: | Настоящий стандарт распространяется на откидные борта стальных форм для изготовления железобетонных изделий по ГОСТ 25781-83 и устанавливает требования к конструкции и размерам основных сборочных единиц и деталей стандартизуемых элементов. Стандарт не распространяется на борта, воспринимающие усилия натяжения арматуры при изготовлении предварительно напряженных железобетонных изделий |
| Список изменений: | №1 от 01.01.1991 (рег. 30.10.1990) «Срок действия продлен» |
|