| Обозначение: |  ГОСТ 27289-87 |
| Статус: | действующий |
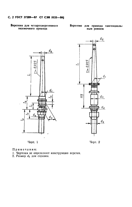
| Название рус.: | Веретена кольцевых прядильных и крутильных машин. Основные параметры и размеры |
| Название англ.: | Spindles for twister and ring frames |
| Дата актуализации текста: | 06.04.2015 |
| Дата актуализации описания: | 01.01.2021 |
| Дата издания: | 15.07.1987 |
| Дата введения: | 01.01.1988 |
| Код ОКП: | 511291 |
| Содержит требования: | CT CЭB 5525-86 |
| Нормативные ссылки: | ГОСТ 3608-78;CT CЭB 4984-85 |
| Область применения: | Настоящий стандарт распространяется на веретена кольцевых прядильных и крутильных машин для производства нитей из натуральных волокон и их смесей с химическими волокнами и устанавливает требования к веретенам, изготовляемым для нужд народного хозяйства и экспорта. Стандарт не распространяется на веретена машин для прядения льна |
|