| Обозначение: |  ГОСТ 18472-88 |
| Статус: | не действует в РФ |
| Название рус.: | Приборы полупроводниковые. Основные размеры |
| Название англ.: | Semiconductor devices. Basic dimensions |
| Дата актуализации текста: | 06.04.2015 |
| Дата актуализации описания: | 01.07.2023 |
| Дата издания: | 01.05.1997 |
| Дата введения: | 01.07.1989 |
| Дата окончания срока действия: | 01.08.2017 |
| Код ОКП: | 634100 |
| Взамен: | ГОСТ 18472-82 |
| Содержит требования: | СТ СЭВ 1818-86 |
| На территории РФ пользоваться: | ГОСТ Р 57439-2017 |
| Нормативные ссылки: | IEC 60191-1(1966);IEC 60191-2(1966) |
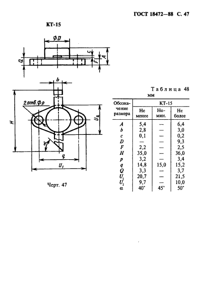
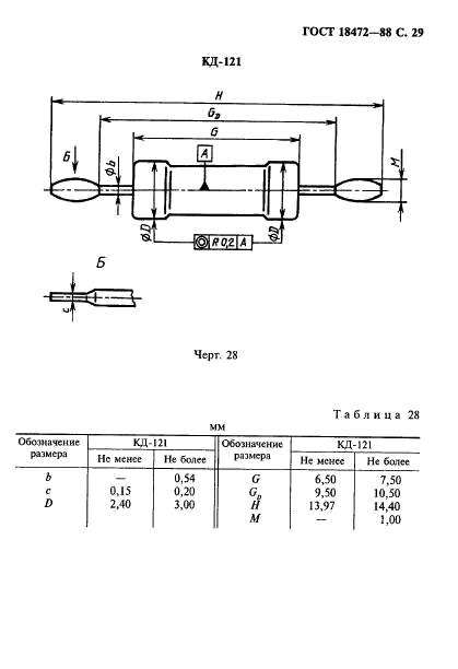
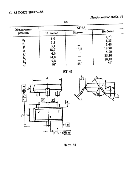
| Область применения: | Настоящий стандарт распространяется на полупроводниковые приборы в корпусах и устанавливает их габаритные и присоединительные размеры. Стандарт не распространяется на селеновые приборы, термисторы, варисторы, выпрямительные столбы и блоки, диодные и транзисторные наборы, оптоэлектронные приборы |
| Список изменений: | №0 от 31.07.2017 (рег. 03.04.2017) «Поправка к изменению» №1 от 01.01.1992 (рег. 03.07.1991) «Срок действия продлен» №2 от 01.11.1992 (рег. 24.06.1992) «Срок действия продлен» |
|