| Обозначение: |  ГОСТ 27619-88 |
| Статус: | действующий |
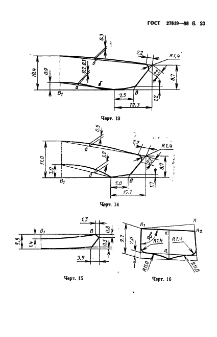
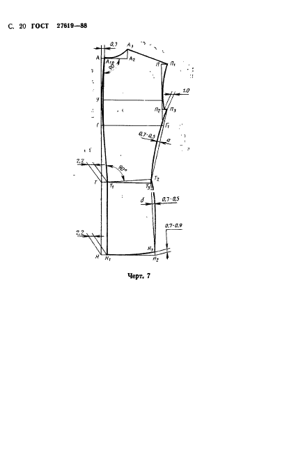
| Название рус.: | Мундир для военнослужащих срочной службы. Технические условия |
| Название англ.: | Uniform for military men of urgent service. Specifications |
| Дата актуализации текста: | 06.04.2015 |
| Дата актуализации описания: | 01.07.2023 |
| Дата издания: | 06.06.1988 |
| Дата введения: | 01.07.1989 |
| Код ОКП: | 858231;858233 |
| Нормативные ссылки: | ГОСТ 4103-82; ГОСТ 5679-84; ГОСТ 19008-82; ГОСТ 19159-85; ГОСТ 6309-87; ГОСТ 20272-83 |
| Область применения: | Настоящий стандарт распространяется на открытые мундиры для военнослужащих срочной службы и курсантов военных училищ Советской Армии, Комитета государственной безопасности СССР и Министерства внутренних дел СССР |
|