| Обозначение: |  ГОСТ 23089.14-88 |
| Статус: | действующий |
| Название рус.: | Микросхемы интегральные. Методы измерения времени задержки включения и выключения компараторов напряжения |
| Название англ.: | Integrated microcircuits. Methods for measuring delay time of the switching on/off the voltage comparators |
| Дата актуализации текста: | 06.04.2015 |
| Дата актуализации описания: | 01.07.2023 |
| Дата издания: | 25.07.1988 |
| Дата введения: | 01.07.1989 |
| Код ОКП: | 623100 |
| Нормативные ссылки: | IEC 60147-2;IEC 60748-2; ГОСТ 19480-74; ГОСТ 23089.0-78 |
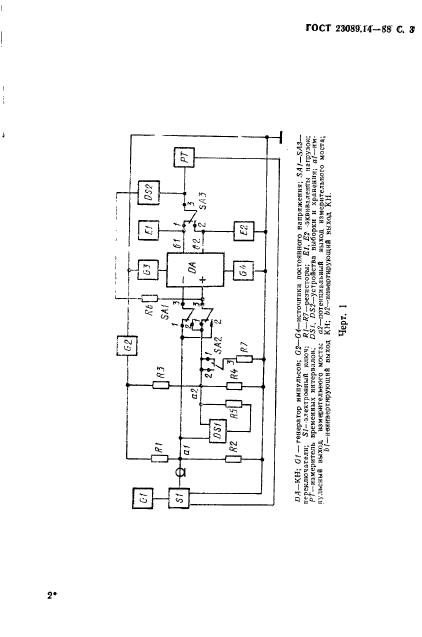
| Область применения: | Настоящий стандарт распространяется на компараторы напряжения (КН) с двухполярным питанием и устанавливает два метода измерения времени задержки включения и выключения; метод 1 - для измерения времени задержки включения и выключения КН при входном синфазном напряжении, отличном от 0 В. Метод рекомендуется применять в качестве основного для измерения параметров КН с временем задержки, превышающим или равным 20 нс; метод 2 - для измерения времени задержки включения и выключения КН при входном синфазном напряжении, равном 0 В. Метод рекомендуется применять для измерения параметров КН с временем задержки, не превышающим 20 нс и в технически обоснованных случаях для остальных КН |
|