| Обозначение: |  ГОСТ 16809-88 |
| Статус: | не действует в РФ |
| Название рус.: | Аппараты пускорегулирующие для разрядных ламп. Общие технические требования |
| Название англ.: | Starting equipment for discharge lamps. General technical requirements |
| Дата актуализации текста: | 06.04.2015 |
| Дата актуализации описания: | 01.07.2023 |
| Дата издания: | 12.06.1989 |
| Дата введения: | 01.01.1990 |
| Дата окончания срока действия: | 01.01.2013 |
| Код ОКП: | 346170 |
| Взамен: | ГОСТ 16809-78; ГОСТ 19680-74 |
| Содержит требования: | СТ СЭВ 6234-88 |
| На территории РФ пользоваться: | ГОСТ IEC 61347-2-9-2014 |
| Нормативные ссылки: | IEC 60082(1984);IEC 60262(1969); ГОСТ 12.1.004-85; ГОСТ 12.1.027-80; ГОСТ 12.1.028-80; ГОСТ 12.2.007.0-75; ГОСТ 2933-83; ГОСТ 5679-85; ГОСТ 6825-74; ГОСТ 14192-77; ГОСТ 14254-80; ГОСТ 15150-69; ГОСТ 15543-70; ГОСТ 15846-79; ГОСТ 15946-70; ГОСТ 15963-79; ГОСТ 16962-71; ГОСТ 17168-82; ГОСТ 17187-81; ГОСТ 17412-72; ГОСТ 17516-72; ГОСТ 17557-80; ГОСТ 17616-82; ГОСТ 18242-72; ГОСТ 18321-73; ГОСТ 18620-86; ГОСТ 20798-75; ГОСТ 21175-75; ГОСТ 21230-75; ГОСТ 21929-76; ГОСТ 23216-78; ГОСТ 24682-81; ГОСТ 24683-81 |
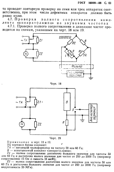
| Область применения: | Настоящий стандарт распространяется на пускорегулирующие аппараты, предназначенные для обеспечения ограничения и стабилизации тока разрядных ламп при включении их в сеть переменного тока с номинальным напряжением до 380 В включительно номинальной частоты 50 или 60 Гц, изготовляемые для нужд народного хозяйства и для экспорта. Стандарт не распространяется на полупроводниковые аппараты, групповые аппараты, аппараты для ламп тлеющего разряда, стартеры и импульсные зажигающие устройства |
| Список изменений: | №0 от 01.01.2013 (рег. 13.12.2011) «Поправка к изменению» |
|