| Обозначение: |  ГОСТ 28043-89 |
| Статус: | действующий |
| Название рус.: | Персональные электронные вычислительные машины. Интерфейс накопителей на жестких несменных магнитных дисках с подвижными головками. Общие требования |
| Название англ.: | Personal computers. Removable heads hard fixed disk drive interface. General requirements |
| Дата актуализации текста: | 06.04.2015 |
| Дата актуализации описания: | 01.07.2023 |
| Дата издания: | 01.09.1989 |
| Дата введения: | 01.07.1990 |
| Код ОКП: | 403100 |
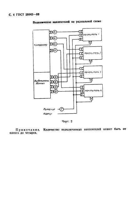
| Область применения: | Настоящий стандарт распространяется на интерфейс накопителей на жестких несменных магнитных дисках с подвижными головками со скоростью передачи данных 625 кбайт.с в степени минус 1, используемый в персональных вычислительных машинах общего и специального назначения. Настоящий стандарт устанавливает общие требования к интерфейсу, состав и требования к функциональным характеристикам сигналов и линий связи между накопителем, контроллером и источниками электропитания |
|