| Обозначение: |  ГОСТ 28037-89 |
| Статус: | действующий |
| Название рус.: | Кусачки. Технические условия |
| Название англ.: | Nippers. Specifications |
| Дата актуализации текста: | 06.04.2015 |
| Дата актуализации описания: | 01.07.2023 |
| Дата издания: | 31.05.1989 |
| Дата введения: | 01.01.1990 |
| Код ОКП: | 392644 |
| Взамен: | ГОСТ 7282-75; ГОСТ 22308-77 |
| Содержит требования: | СТ СЭВ 3210-81;СТ СЭВ 3212-81 |
| Нормативные ссылки: | ГОСТ 9.014-78; ГОСТ 9.032-74; ГОСТ 9.301-86; ГОСТ 9.302-79; ГОСТ 9.303-84; ГОСТ 9.306-85; ГОСТ 1435-74; ГОСТ 2789-73; ГОСТ 5950-73; ГОСТ 7505-74; ГОСТ 9013-59; ГОСТ 9378-75; ГОСТ 26810-86 |
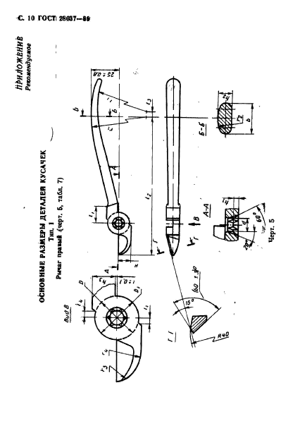
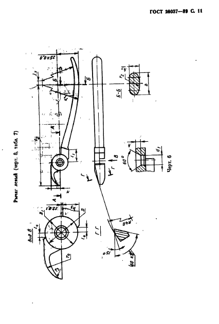
| Область применения: | Настоящий стандарт распространяется на кусачки, предназначенные для перекусывания проволоки, без изолирующих и с изолирующими рукоятками, изготавливаемые для нужд народного хозяйства и экспорта. Стандарт не распространяется на многошарнирные кусачки |
|