| Обозначение: |  ГОСТ 28119-89 |
| Статус: | действующий |
| Название рус.: | Агрегатные станки. Втулки переходные регулируемые и гайки стопорные. Конструкция |
| Название англ.: | Building-block machines. Adapters and adjustable bushes and locking nuts. Design |
| Дата актуализации текста: | 06.04.2015 |
| Дата актуализации описания: | 01.07.2023 |
| Дата издания: | 01.01.1989 |
| Дата введения: | 01.01.1990 |
| Код ОКП: | 392830 |
| Содержит требования: | СТ СЭВ 6298-88 |
| Нормативные ссылки: | ISO 2905:1985; ГОСТ 2789-73; ГОСТ 2848-75; ГОСТ 9562-81; ГОСТ 13876-87; ГОСТ 23360-78; ГОСТ 24071-80; ГОСТ 24737-81; ГОСТ 25557-82 |
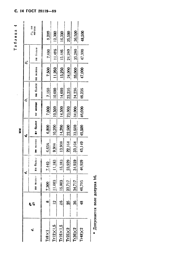
| Область применения: | Настоящий стандарт распространяется на переходные регулируемые втулки с цилиндрическим хвостовиком и стопорные гайки для закрепления инструмента с коническим хвостовиком, применяемые во вновь проектируемых силовых узлах агрегатных станков с концами шпинделей по ГОСТ 13876 |
|