| Обозначение: |  ГОСТ 12.4.177-89 |
| Статус: | действующий |
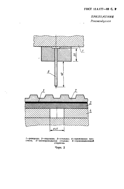
| Название рус.: | Система стандартов безопасности труда. Средства индивидуальной защиты ног от прокола. Общие технические требования и метод испытания антипрокольных свойств |
| Название англ.: | Occupational safety standards system. Personal foot protection against punctured injuries. General requirements and test method for resistance to puncture |
| Дата актуализации текста: | 06.04.2015 |
| Дата актуализации описания: | 01.07.2023 |
| Дата издания: | 16.01.1990 |
| Дата введения: | 01.07.1990 |
| Взамен: | ГОСТ 12.4.057-78 |
| Содержит требования: | СТ СЭВ 6515-88 |
| Нормативные ссылки: | ГОСТ 2789-73 |
| Область применения: | Настоящий стандарт распространяется на все виды специальной обуви для защиты стопы от проколов. |
|