| Обозначение: |  ГОСТ 3634-99 |
| Статус: | заменён |
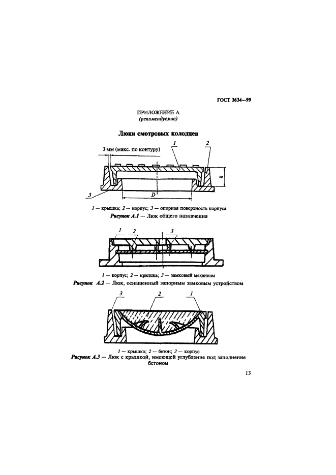
| Название рус.: | Люки смотровых колодцев и дождеприемники ливнесточных колодцев. Технические условия |
| Название англ.: | Access manhole covers and storm-flow receivers for manholes. Technical requirements |
| Дата актуализации текста: | 01.01.2021 |
| Дата актуализации описания: | 01.07.2023 |
| Дата регистрации: | 02.12.1999 |
| Дата издания: | 18.12.2000 |
| Дата введения: | 01.01.2001 |
| Дата окончания срока действия: | 01.06.2020 |
| Код ОКП: | 485910 |
| Взамен: | ГОСТ 3634-89; ГОСТ 26008-83 |
| Заменяющий: | ГОСТ 3634-2019 |
| Нормативные ссылки: | ГОСТ 380-94; ГОСТ 1412-85; ГОСТ 14192-96; ГОСТ 15150-69; ГОСТ 26358-84; ГОСТ 26645-85 |
| Область применения: | Настоящий стандарт распространяется на люки колодцев и камер подземных инженерных городских коммуникаций: тепловых, газовых и кабельных сетей, водопровода, канализации, а также на дождеприемники ливневой канализации, предназначенные для приема поверхностных сточных вод и атмосферных осадков. Решетки дождеприемников, выполненные по настоящему стандарту, нельзя устанавливать в полу помещений и на крыше зданий |
| Список изменений: | №0 от 24.03.2016 (рег. 24.03.2016) «Дата введения перенесена» |
| Приложение №1: | Поправка к ГОСТ 3634-99 |
|