| Обозначение: |  ГОСТ 19811-90 |
| Статус: | действующий |
| Название рус.: | Краны консольные электрические стационарные. Типы |
| Название англ.: | Stationary electric cantilever cranes. Types |
| Дата актуализации текста: | 06.04.2015 |
| Дата актуализации описания: | 01.07.2023 |
| Дата издания: | 04.06.1990 |
| Дата введения: | 01.01.1991 |
| Код ОКП: | 315921 |
| Взамен: | ГОСТ 19811-82 |
| Нормативные ссылки: | ГОСТ 15150-69; ГОСТ 22584-88; ГОСТ 25546-82 |
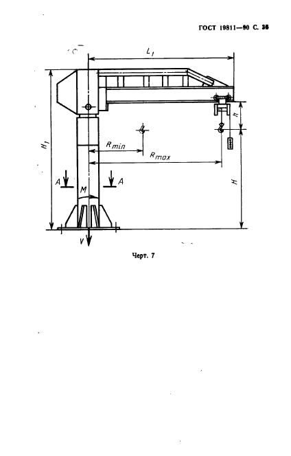
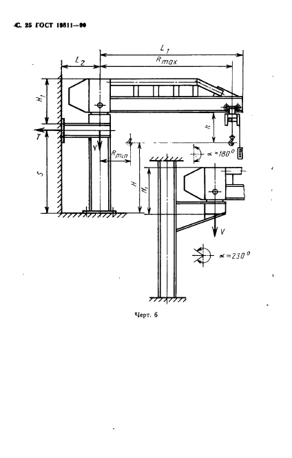
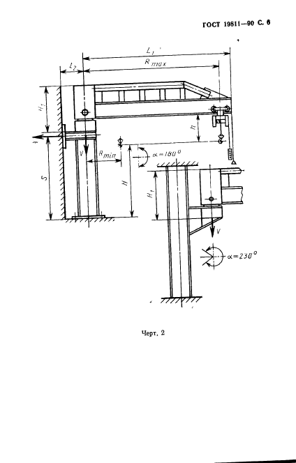
| Область применения: | Настоящий стандарт распространяется на консольные электрические стационарные поворотные краны общего назначения. Стандарт не распространяется на краны, предназначенные для работы во взрывоопасной и пожароопасной средах, в помещениях с парами кислот и щелочей. Стандарт устанавливает типы, основные параметры и размеры кранов и присоединительные размеры их опорных частей |
|