Скачать ГОСТ 28771-90 Машины землеройные. Тракторы с бульдозерным оборудованием, автогрейдеры, самоходные скреперы. Ножи. Основные формы и размерыДата актуализации: 01.06.2025 ГОСТ 28771-90
Машины землеройные. Тракторы с бульдозерным оборудованием, автогрейдеры, самоходные скреперы. Ножи. Основные формы и размеры
| Обозначение: |  ГОСТ 28771-90 |
| Статус: | действующий |
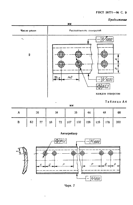
| Название рус.: | Машины землеройные. Тракторы с бульдозерным оборудованием, автогрейдеры, самоходные скреперы. Ножи. Основные формы и размеры | | Название англ.: | Earth moving machinery. Tractors with dozer, graders, tractor scrapers. Cutting edges. Principal shapes and basic dimensions | | Дата актуализации текста: | 06.04.2015 | | Дата актуализации описания: | 01.07.2023 | | Дата издания: | 15.02.1991 | | Дата введения: | 01.01.1992 | | Код ОКП: | 481200 | | Содержит требования: | ISO 7129:1989 | | Нормативные ссылки: | ГОСТ 6165-87; ГОСТ 28764-90 | | Область применения: | Стандарт устанавливает основные формы и размеры поперечного сечения ножей, а также расположение, формы и размеры отверстий под болты крепления ножей, используемых для тракторов с бульдозерным оборудованием, автогрейдеров и самоходных скреперов по ГОСТ 28764 с учетом их взаимозаменяемости | |
             
|