| Обозначение: |  ГОСТ 21191-91 |
| Статус: | действующий |
| Название рус.: | Бабки сверлильные агрегатных станков. Основные размеры. Нормы точности |
| Название англ.: | Drilling spindle units for modular-type machine tools. Basic dimensions. Standards of accuracy |
| Дата актуализации текста: | 06.04.2015 |
| Дата актуализации описания: | 01.07.2023 |
| Дата издания: | 05.09.1991 |
| Дата введения: | 01.07.1992 |
| Код ОКП: | 381800 |
| Взамен: | ГОСТ 20356-74; ГОСТ 21191-87 |
| Нормативные ссылки: | ISO 3590:1976; ГОСТ 8-82; ГОСТ 13876-87; ГОСТ 22267-76; ГОСТ 23360-78;СТ СЭВ 3117-81 |
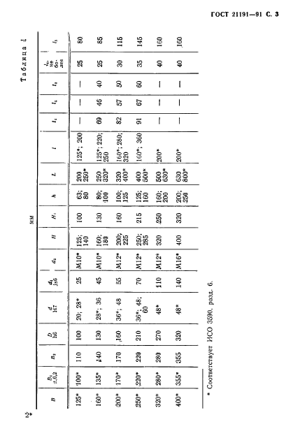
| Область применения: | Настоящий стандарт распространяется на унифицированные бабки класса точности Н, для выполнения сверлильно-расточных операций при обработке деталей на отдельных или встраиваемых в автоматические линии анрегатных станках |
|