| Обозначение: |  ГОСТ 29176-91 |
| Статус: | действующий |
| Название рус.: | Короткие замыкания в электроустановках. Методика расчета в электроустановках постоянного тока |
| Название англ.: | Short-circuits in electrical installations. Calculation methods in d.c. electrical |
| Дата актуализации текста: | 06.04.2015 |
| Дата актуализации описания: | 01.07.2023 |
| Дата издания: | 01.11.2004 |
| Дата введения: | 01.07.1992 |
| Код ОКП: | 340000 |
| Нормативные ссылки: | ГОСТ 27514-87 |
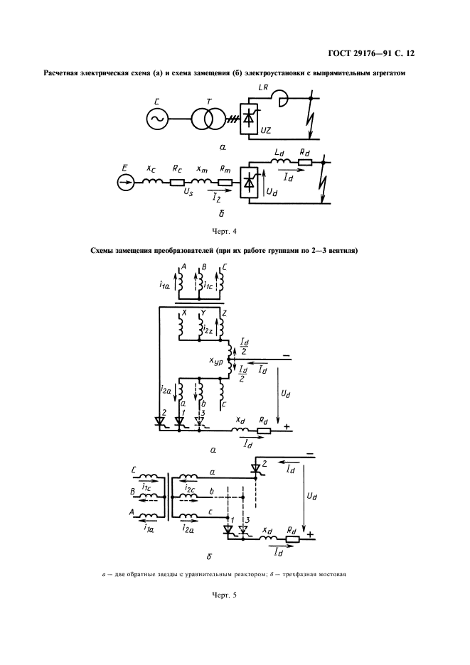
| Область применения: | Настоящий стандарт распространяется на электроустановки постоянного тока, в которых источниками энергии постоянного тока (преобразователями) являются: - свинцово-кислотные аккумуляторные батареи; - машины постоянного тока параллельного возбуждения; - трехфазные вентильные полупроводниковые выпрямители, выполненные по схеме две обратные звезды с уравнительным реактором; - трехфазные вентильные полупроводниковые выпрямители, выполненные по симметричной мостовой схеме. Стандарт не распространяется на электроустановки постояннго тока напряжением выше ± 750 кВ |
|