| Обозначение: |  ГОСТ 27222-91 |
| Статус: | действующий |
| Название рус.: | Машины электрические вращающиеся. Измерение сопротивления обмоток машин переменного тока без отключения от сети |
| Название англ.: | Ratating electrical machines. Measurement of the winding resistance of an a.c. machine without switching-off net work |
| Дата актуализации текста: | 06.04.2015 |
| Дата актуализации описания: | 01.01.2021 |
| Дата издания: | 11.04.1991 |
| Дата введения: | 01.01.1992 |
| Код ОКП: | 331000;332000;333000;334000;335000;337000;338000 |
| Взамен: | ГОСТ 27222-87 |
| Содержит требования: | IEC 60279(1969);СТ СЭВ 1107-78 |
| Нормативные ссылки: | ГОСТ 183-74 |
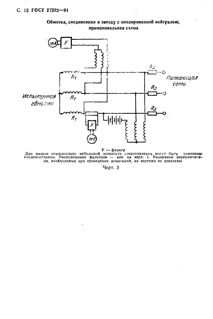
| Область применения: | Настоящий стандарт устанавливает метод измерения сопротивления обмоток при работе машины (необходимость в экстраполяции отпадает) и распространяется на низковольтные и высоковольтные машины любой мощности |
|