| Обозначение: |  ГОСТ 28966.2-91 |
| Статус: | действующий |
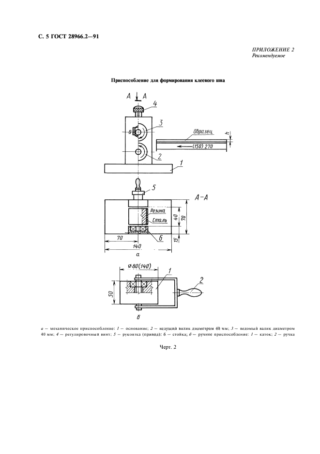
| Название рус.: | Клеи полимерные. Метод определения прочности при отслаивании |
| Название англ.: | Polymer adhesives. Method of determining peel strength |
| Дата актуализации текста: | 06.04.2015 |
| Дата актуализации описания: | 01.07.2023 |
| Дата издания: | 01.09.2004 |
| Дата введения: | 01.01.1992 |
| Код ОКП: | 226200 |
| Нормативные ссылки: | ГОСТ 166-89; ГОСТ 6507-90; ГОСТ 9550-81; ГОСТ 28840-90 |
| Область применения: | Настоящий стандарт распространяется на полимерные клеи и устанавливает метод определения прочности при отслаивании клеевых соединений гибких пленочных материалов от жестких листовых и плоских материалов. Стандарт не распространяется на резиновые клеи |
|