| Обозначение: |  ГОСТ 23338-91 |
| Статус: | действующий |
| Название рус.: | Сварка металлов. Методы определения содержания диффузионного водорода в наплавленном металле и металле шва |
| Название англ.: | Welding of metals. Methods for determination of diffusible hydrogen in deposited weld metal and fused metal |
| Дата актуализации текста: | 06.04.2015 |
| Дата актуализации описания: | 01.07.2023 |
| Дата издания: | 11.09.1991 |
| Дата введения: | 01.07.1992 |
| Код ОКП: | 080900 |
| Взамен: | ГОСТ 23338-78 |
| Нормативные ссылки: | ГОСТ 380-88; ГОСТ 2603-79; ГОСТ 5789-78; ГОСТ 5962-67; ГОСТ 6259-75; ГОСТ 8728-88; ГОСТ 8984-75; ГОСТ 10157-79; ГОСТ 18300-87; ГОСТ 20288-74; ГОСТ 20292-74; ГОСТ 25377-82; ГОСТ 28498-90 |
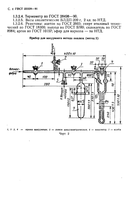
| Область применения: | Настоящий стандарт устанавливает хроматографический и вакуумный методы определения содержания диффузного водорода в наплавленном металле и металле шва и распространяется на покрытые электроды, порошковую проволоку, стальную сварочную проволоку, предназначенные для сварки низкоуглеродистых и низколегированных сталей |
|